Model S Service Manual

    2012-2020 Model S Service Manual

    Current Release Notes

    • 2012-2020 Model S Service Manual
    • Release Notes
      • Current Release Notes
      • Release Notes Archive
        • Release Notes June-September 2022
        • Release Notes October-December 2022
        • Release Notes January-March 2023
        • Release Notes April-June 2023
        • Release Notes July-September 2023
        • Release Notes October-December 2023
        • Release Notes January-March 2024
        • Release Notes April-June 2024
        • Release Notes July-September 2024
    • GENERAL INFORMATION
      • INTRODUCTION
        • Abbreviations and Symbols
        • Flat Rate Times
        • How To Use This Manual
        • Repairs and Replacements
        • Warranty Service Regions
      • BEST PRACTICES
        • Air Bag and Supplementary Restraint System (SRS) Precautions
        • Air Conditioning System Precautions
        • Diagnostic Connector Location
        • Electrical Precautions
        • Environmental Precautions
        • Flexible Pipes and Hoses
        • General Fitting Instructions
        • General Precautions
        • Locking Devices
        • Oil Seals
        • SRS Component Replacement Policy
        • Vehicle Cameras and Autopilot
        • Wheels and Tires
          • Wheel Disposal (Rework)
      • CHARGING
        • General
        • Charging Precautions
      • TECHNICAL DATA
        • Steering
        • Suspension
        • Wheel Alignment
        • Brakes
        • Wheels
        • Tire Pressures
        • Electrical
        • Fuse Locations
        • Weights
      • IDENTIFICATION NUMBERS
        • Vehicle Identification Number (VIN)
        • Serial Number
        • Drive unit number
        • Manufacturing certification label
        • Vehicle and Wheel Paint Codes
        • Type Approval (EU)
      • FLUIDS AND CAPACITIES
        • Fluids
        • Fluid Capacities
    • 00 - INSPECTION AND SERVICE
      • 0001 - Scheduled Service
        • Maintenance Service and Intervals
      • 0002 - Firmware Service
        • Firmware Reinstall - Touchscreen
        • Firmware Reinstall - Toolbox
        • Firmware Update
        • User Data (Factory Reset)
      • 0005 - Service Modes
        • Gateway Configuration (Display and Change)
        • Gateway Unlock
        • Service Mode
        • Service Mode Plus
        • Toolbox 3 (Connect and Disconnect)
    • 10 - BODY
      • 1000 - Vehicle Lifting
        • Raise Vehicle - Floor Jack (Mobile Service)
        • Jack Mode Activation
        • Raise Vehicle - 2 Post Lift
        • Raise Vehicle - 4 Post Lift
      • 1001 - Bumper/Fascia
        • Fascia Assembly - Front (Remove and Install)
        • Fascia Assembly - Front (Remove and Replace)
        • Bumper Assembly - Front (Remove and Replace)
        • Ankle Catcher Assembly (Remove and Replace)
        • Applique - Fascia - Front - 1st Generation (Remove and Replace)
        • Applique - Fascia - Front - 2nd Generation (Remove and Install)
        • Applique - Fascia - Front - 2nd Generation (Remove and Replace)
        • Grille - Fascia - Front (Remove and Replace)
        • Valance - Front Fascia - Lower (Remove and Replace)
        • Fascia Assembly - Rear (Remove and Install)
        • Fascia Assembly - Rear (Remove and Replace)
        • Bumper Assembly - Rear (Remove and Replace)
        • Applique - Fascia - Rear (Remove and Replace)
        • Diffuser Trim - Rear (Remove and Replace)
      • 1010 - Body Panels
        • Bracket - FDU Motor Mount - Rear - RH (Remove and Replace)
        • Carrier - Bumper - Front (Remove and Replace)
        • Drain Plug - Liftgate - LH (Remove and Replace)
        • Shock Tower Brace - LH (Remove and Replace)
        • Liftgate Assembly (Remove and Install)
        • Liftgate Assembly (Remove and Replace)
        • Acoustic Panel - Hood (Remove and Replace)
        • Door Assembly - Front - LH (Remove and Replace)
        • Door Assembly - Front - LH (Remove and Install)
        • Door Assembly - Rear - LH (Remove and Install)
        • Door Assembly - Rear - LH (Remove and Replace)
        • Hood Assembly (Remove and Install)
        • Grounding Stud - Front Rail (Restore)
        • Fender Assembly - Front - LH (Remove and Install)
        • Fender Assembly - Front - LH (Remove and Replace)
      • 1020 - Windshield, Liftgate Glass, and Body Glass
        • Body Glass - Rear Quarter - LH (Remove and Install)
        • Body Glass - Rear Quarter - LH (Remove and Replace)
        • Clear Forward Camera View (Precision Cleaning Of Inboard Windshield)
        • Fixed Glass - Front Door - LH (Remove and Replace)
        • Liftgate Glass (Remove and Install)
        • Liftgate Glass (Remove and Replace)
        • Liftgate Glass - Defrost Element (Remove and Replace)
        • Roof - Glass (Remove and Replace)
        • Sensor - HVAC - Light/Temperature/Humidity (Remove and Replace)
        • Sensor - Light/Rain (Vehicles without Autopilot and with 1st Generation Autopilot) (Remove and Replace)
        • Windshield Chip Repair
        • Windshield Chip Repair (EMEA)
        • Windshield Scratch Repair
        • Windshield (Remove and Install)
        • Windshield (Remove and Replace)
        • Windshield and Roof Glass Repair and Replacement Guidelines
      • 1030 - Paint
        • Paint Defect Rectification
      • Panel Alignment
        • Panel Alignment Specifications
    • 11 - CLOSURE COMPONENTS
      • 1133 - Closure Assist Mechanisms and Hinges
        • Gas Strut - Hood - LH (Remove and Replace)
        • Hinge - Door - Front - Upper - LH (Remove and Replace)
        • Hinge - Hood - LH (Remove and Replace)
        • Module - Door Controller - LH (Remove and Replace)
        • Power Strut - Liftgate (Remove and Replace)
        • Strut - Liftgate (Remove and Replace)
        • Module - Liftgate Control (Remove and Replace)
        • C-Clips - Strut - Hood - LH (Remove and Replace)
        • C-Clips - Strut - Liftgate - LH (Remove and Replace)
      • 1135 - Latches, Strikers, and Pinch Sensors
        • Actuator - Cinching (Remove and Replace)
        • Actuator - Latch - Hood - LH (Dual Motor) (Remove and Replace)
        • Cable - Cinching (Remove and Replace)
        • Cable - Latch - Hood - LH (Dual Motor) (Remove and Replace)
        • Cable - Latch - Hood (RWD) (Remove and Replace)
        • Exterior Release Switch - Liftgate (Remove and Replace)
        • Latch - Door - Front - LH (Remove and Replace)
        • Latch - Door - Rear - LH (Remove and Replace)
        • Latch - Hood (Remove and Replace)
        • Latch - Liftgate (Remove and Replace)
        • Pinch Sensor - Liftgate - LH (Remove and Replace)
        • Striker - Door - Front - LH (Remove and Replace)
        • Striker - Door - Rear - LH (Remove and Replace)
        • Striker - Hood (Remove and Replace)
        • Striker - Liftgate (Remove and Replace)
      • 1140 - Interior Door Handles
        • Handle - Interior Release - Door - Front - LH (Remove and Replace)
        • Handle - Interior Release - Door - Rear - LH (Remove and Replace)
        • Cable - Interior Release - Front - LH (Remove and Replace)
      • 1145 - Exterior Door Handles
        • Backplate - Door - Exterior Handle - Front - LH (Remove and Replace)
        • Backplate - Door - Exterior Handle - Rear - LH (Remove and Replace)
        • Grip - Door - Exterior Handle - Front - LH (Remove and Replace)
        • Grip - Door - Exterior Handle - Rear - LH (Remove and Replace)
        • Handle - Exterior Release - Door - Front - LH - Generation 2.0/2.5 (Remove and Install)
        • Handle - Exterior Release - Door - Front - LH - Generation 2.0/2.5 (Remove and Replace)
        • Handle - Exterior Release - Door - Front - LH - Generation 2.1 (Retrofit)
        • Handle - Exterior Release - Door - Front - LH - Generation 3.0 (Remove and Install)
        • Handle - Exterior Release - Door - Front - LH - Generation 3.0 (Remove and Replace)
        • Handle - Exterior Release - Door - Front - LH - Generation 3.0 (Retrofit)
        • Handle - Exterior Release - Door - LH (Retrofit)
        • Handle - Exterior Release - Door - (Identify Visually)
        • Handle - Exterior Release - Door - (Identify with Autodiag)
        • Handle - Exterior Release - Door - Rear - LH - Generation 2.0/2.5 (Remove and Install)
        • Handle - Exterior Release - Door - Rear - LH - Generation 2.0/2.5 (Remove and Replace)
        • Handle - Exterior Release - Door - Rear - LH - Generation 2.1 (Retrofit)
        • Handle - Exterior Release - Door - Rear - LH - Generation 3.0 (Remove and Install)
        • Handle - Exterior Release - Door - Rear - LH - Generation 3.0 (Remove and Replace)
        • Handle - Exterior Release - Door - Rear - LH - Generation 3.0 (Retrofit)
        • Handle - Exterior Release - Door (Recalibrate)
        • Handle Motor - Exterior Release - Door - Front - LH - Generation 3.0 (Remove and Replace)
        • Handle Motor - Exterior Release - Door - Rear - LH - Generation 3.0 (Remove and Replace)
        • LED - Door - Exterior Handle - Front - LH (Remove and Replace)
        • LED - Door - Exterior Handle - Rear - LH (Remove and Replace)
        • Module - Door Handle Controller - Front - LH - Generation 3.0 (Remove and Replace)
        • Module - Door Handle Controller - Rear - LH - Generation 3.0 (Remove and Replace)
        • Paddle Gear - Handle - Exterior Release - Door - Front - LH - Generation 3.0 (Remove & Replace)
        • Paddle Gear - Handle - Exterior Release - Door - Rear - LH - Generation 3.0 (Remove & Replace)
        • Position Sensor - Door - Exterior Handle - Front - LH (Remove and Replace)
        • Position Sensor - Door - Exterior Handle - Rear - LH (Remove and Replace)
        • Position Switch Harness - Door Handle (Remove and Replace)
        • Press Sensor - Door - Exterior Handle - Front - LH (Remove and Replace)
        • Press Sensor - Door - Exterior Handle - Rear - LH (Remove and Replace)
      • 1150 - Door Glass and Regulators
        • Door Glass - LH - Front - Adjust
        • Door Glass - LH - Front (Remove and Replace)
        • Door Glass - LH - Rear - Adjust
        • Door Glass - LH - Rear (Remove and Replace)
        • Window Guide Rail - Front - LH (Remove and Replace)
        • Window Guide Rail - Rear - LH (Remove and Replace)
        • Window Motor/Regulator Assembly - Front - LH (Remove and Replace)
        • Window Regulator - Front - LH - Recalibrate
        • Window Motor/Regulator Assembly - Rear - LH (Remove and Replace)
        • Window Regulator - Rear - LH - Recalibrate
        • Switch - Window Lift - Driver's (Remove and Replace)
        • Switch - Window Lift - Front Passenger's (Remove and Replace)
        • Switch - Window Lift - Rear - LH (Remove and Replace)
      • 1170 - Seals Body Enclosures
        • Seal - Body - Side - Rear - Secondary - LH (Remove and Replace)
        • Seal - Body - Side - Front - Primary - LH (Remove and Replace)
        • Seal - Body - Side - Rear - Primary - LH (Remove and Replace)
        • Seal - Door - Front - A Pillar - Margin - LH (Remove and Replace)
        • Seal - Door- Front - Rocker - LH (Remove and Replace)
        • Seal - Door - Front - LH (Remove and Replace)
        • Seal - Door - Rear - C Pillar - Margin - LH (Remove and Replace)
        • Seal - Rear Door - LH (Remove and Replace)
        • Seal - Hood (Remove and Replace)
        • Seal - Liftgate (Remove and Replace)
        • Seal - Outer Belt - Front Door - LH (Remove and Replace)
        • Seal - Inner Belt - Front Door - LH (Remove and Replace)
        • Seal - Inner Belt - Rear Door - LH (Remove and Replace)
        • Seal - Outer Belt - Rear Door - LH (Remove and Replace)
    • 12 - EXTERIOR FITTINGS
      • 1201 - Wheel Arch Liners
        • Noise Absorber - Motor Bay - Front (Pre-Refresh) (Remove and Replace)
        • Noise Absorber - Motor Bay - Front (Refresh) (Remove and Replace)
        • Wheel Arch Liner - Front - LH (Remove and Replace)
        • Wheel Arch Liner - Rear - LH (Remove and Replace)
        • Louver - Wheel Arch Liner - Front - LH (Remove and Replace)
      • 1203 - Undertray and Diffuser
        • Panel - Aero Shield - Front (Remove and Replace)
        • Panel - Aero Shield - Mid (Remove and Replace)
        • Panel - Diffuser Tray - Rear (Remove and Replace)
        • Rails - Diffuser Tray Rear - LH (Remove and Replace)
      • 1205 - Badges and Films
        • Rear Lettering (Remove and Replace)
        • Badge - Ludicrous Speed (Retrofit)
        • Tesla Badge - Rear (Remove and Replace)
      • 1207 - License Plate Mountings
        • Bracket - License Plate - Front (Retrofit)
        • Shell - Bracket - License Plate - Front (Remove and Replace)
        • Structural Base - Bracket - License Plate - Front (Remove and Replace)
      • 1209 - Exterior Mirrors
        • Door Mirror Assembly - LH (Remove and Replace)
        • Glass - Door Mirror - LH (Remove and Replace)
      • 1220 - Exterior Trim
        • B-Pillar Trim Panel - LH (Remove and Replace)
        • Brightwork - Body side - LH (Remove and Replace)
        • Molding - Rocker Panel - LH (Remove and Replace)
        • Pad - Lifting - Each (Remove and Replace)
        • Applique - Liftgate (Remove and Replace)
      • 1222 - Spoiler
        • Spoiler - Carbon Fiber (Remove and Replace)
      • 1225 - Underhood Trim
        • Panel - Cowl Screen (Remove and Replace)
        • Underhood Apron - Front (Remove and Replace)
        • Underhood Apron - Rear (Remove and Replace)
        • Underhood Apron - LH (Remove and Replace)
    • 13 - SEATS
      • 1301 - Front Seat Tracks and Motors
        • Frame Assembly - Cushion - Driver Seat (Remove and Replace)
        • Motor - Seat Tilt - Driver's Seat (Remove and Replace)
        • Motor - Seat Height - Driver's Seat (Remove and Replace)
        • Assembly - Lumbar Support - Back Rest - Driver's Seat (Remove and Replace)
        • Motor - Recliner - Back Rest - Driver Seat (Remove and Replace)
        • Switch - Adjust - Driver's Seat (Remove and Replace)
        • Switch - Back Rest and Cushion Adjust - Driver's Seat (Remove and Replace)
        • Module - Memory Seat (Remove and Replace)
        • Actuator - Headrest - Driver's (Premium Seats) (Remove and Replace)
        • Controller - Driver Seat (Remove and Replace)
        • Controller - Front Passenger Seat (With OCS) (Remove and Replace)
      • 1304 - Front Seat Assemblies and Hardware
        • Seat Assembly - 1st Row - LH (Remove and Install)
        • Seat Assembly - 1st Row - LH (Remove and Replace)
        • Seat Assembly - 1st Row - RH (Remove and Replace)
        • Base Assembly - Driver Seat (Model X Seat) (Remove & Replace)
        • Base Assembly - Front Passenger's Seat (Remove and Replace)
        • Assembly - Back Rest - Driver's Seat (Remove and Replace)
        • Cover - Seat Back - Driver's (Premium Seats) (Remove and Replace)
        • Trim - Headrest - Driver's (Premium Seats) (Remove and Replace)
      • 1305 - 2nd Row Seat Assemblies and Hardware
        • Seat Cushion - Lower - 2nd Row (Remove and Install)
        • Seat Cushion - Lower - 2nd Row (Remove and Replace)
        • Seat Cushion - Lower - 2nd Row - Executive - LH (Remove and Install)
        • Seat Cushion - Lower - 2nd Row - Executive - LH (Remove and Install)
        • Seat Cushion - Lower - 2nd Row - Executive - LH (Remove and Replace)
        • Seatback Assembly - 2nd Row - LH (Remove and Install)
        • Seatback Assembly - 2nd Row - RH (Remove and Install)
        • Seatback Assembly - 2nd Row - Executive (Remove and Replace)
        • Frame - Seat Base - 2nd Row Cushion (Remove and Replace)
        • Frame - Seat Base - 2nd Row - Executive (Remove and Replace)
        • Frame - Seat Back - 2nd Row Seat - LH (Remove and Replace)
        • Frame - Seat Back - 2nd Row Seat - RH (Remove and Replace)
        • Bolster - Side - Seat - 2nd Row - LH (Remove and Replace)
        • Striker - Seat back - 2nd Row Seat - LH (Remove and Replace)
        • Pivot Lock - Seat back - 2nd Row Seat - LH (Remove and Replace)
        • Pivot Lock - Seat back - 2nd Row Seat - RH (Remove and Replace)
        • Latch - Seat Back - 2nd Row Seat - LH (Remove and Replace)
        • Pivot Sleeve - Seat back - 2nd Row Seat - LH (Remove and Replace)
        • Seat Back Assembly - 2nd Row - LH - Enable 3rd Row Seat Striker (Modify)
      • 1306 - 3rd Row Seat Assemblies and Hardware
        • Center Console - 3rd Row (Remove & Replace)
        • Cover - Hip Pivot - 3rd Row - LH (Remove & Replace)
        • Seat Assembly - 3rd Row (Remove and Replace)
        • Lanyard - Third Row Seat (Remove and Replace)
      • 1307 - Front Seat Covers, Pads, and Trims
        • Cover - Outer Side - Driver's Seat (Remove and Install)
        • Cover - Outer Side - Driver's Seat (Remove and Install)
        • Cover - Outer Side - Driver's Seat (Remove and Replace)
        • Cover - Back Rest - Driver's Seat (Remove and Replace)
        • Cover - Back Rest - Driver Seat (Model 3 Seat) (Remove & Replace)
        • Trim - Cushion - Driver's Seat (Remove and Replace)
        • Trim - Cushion - Front Passenger's Seat (Remove and Replace)
        • Foam - Back Rest - Driver Seat (Model 3 Seat) (Remove and Replace)
        • Foam - Cushion - Driver's Seat (Remove and Replace)
        • Foam - Cushion - Front Passenger's Seat (Remove and Replace)
        • Foam and Trim Assembly - Driver's Seat (1st Generation) (Remove and Install)
        • Trim and Foam Assembly - Front Passenger's Seat (Remove and Install)
        • Module - Seat Heater - Driver's Seat (Remove and Replace)
        • Foam and Trim - Cushion - Driver's Seat (2nd Generation) (Remove and Replace)
    • 14 - INSTRUMENT PANELS AND PEDALS
      • 1405 - Instrument Panel
        • Glove Box (Remove and Replace)
        • Glove Box - Latch Release (Remove and Replace)
        • Glove Box - Damper (Remove and Replace)
        • IP Carrier (Remove and Replace)
        • Cross Car Beam (Remove and Replace)
        • Assembly - Frame - Instrument Cluster (Remove and Replace)
        • Trim - Touchscreen Surround (Remove and Replace)
        • Face Level Vent - Driver's - Outer (Remove and Replace)
        • Face Level Vent - Driver's - Inner (Remove and Replace)
        • Face Level Vent - Front Passenger's - Outer (Remove and Replace)
        • Face Level Vent - Front Passenger's - Inner (Remove and Replace)
        • Assembly - Bin - Storage Center Compartment (Remove and Replace)
        • Assembly - Instrument Panel Lower - RH (Remove and Replace)
        • Assembly - Instrument Panel Side Cover - LH (Remove and Replace)
        • Panel - A Pillar Trim - Middle - LH (Remove and Replace)
        • Assembly - Finisher - Instrument Panel - LH (Remove and Replace)
        • Assembly - Finisher - Instrument Panel - RH (Remove and Replace)
        • Assembly - Mesh Grille - Defrost (Remove and Replace)
        • Assembly - Top Pad - Instrument Panel (Remove and Install)
        • Assembly - Top Pad - Instrument Panel (Remove and Replace)
        • Trim - Dash - Driver's Side - Lower (Remove and Replace)
        • Trim - Dash - Driver's Side - Inner to Bezel (Remove and Replace)
        • Assembly - Cover - Footwell - Driver's (Remove and Replace)
        • Assembly - Cover - Footwell - Passenger's (Remove and Replace)
    • 15 - INTERIOR TRIM
      • 1505 - Interior Mirror and Sun Visors
        • Assembly - Mirror - Sun Visor - LH (Remove and Replace)
        • Center Support - Sun Visor - LH (Remove and Replace)
        • Glare Shield - 2nd Generation Autopilot (Remove and Replace)
        • Rear View Mirror - 1st Generation (Remove and Replace)
        • Rear View Mirror - 2nd Generation (Remove and Replace)
        • Sun Visor - LH (Remove and Replace)
        • Trim - Rear View Mirror (Remove and Replace)
      • 1511 - Liftgate Trim
        • Finisher - Liftgate - Rear Window - Upper (Remove and Replace)
        • Finisher - Liftgate - Rear Window - Lower (Remove and Replace)
        • Finisher - Liftgate - Rear Window - Side - LH (Remove and Replace)
      • 1513 - Door Trim
        • Armrest - Door Trim - Front - LH (Remove and Replace)
        • Armrest - Door Trim - Rear - LH (Remove and Replace)
        • Panel - Door Trim - Front - LH (Remove and Install)
        • Panel - Door Trim - Front - LH (Remove and Replace)
        • Panel - Door Trim - Rear - LH (Remove and Install)
        • Panel - Door Trim - Rear - LH (Remove and Replace)
        • Trim Decor - Door - Front - LH (Remove & Replace)
        • Trim Decor - Door - Rear - LH (Remove & Replace)
      • 1518 - Pillar and Sill Trim
        • Trim - Sill Panel - LH (Remove and Replace)
        • Trim - A-Pillar - LH (Remove and Install)
        • Trim - A-Pillar - LH (Remove and Replace)
        • Trim - B-Pillar - Upper - LH (Remove and Install)
        • Trim - B-Pillar - Upper - LH (Remove and Replace)
        • Trim - B-Pillar - Lower - LH (Remove and Install)
        • Trim - C-Pillar - Upper - LH (Remove and Replace)
        • Trim - C-Pillar - Rear - LH (Remove and Replace)
        • Trim - Sill Panel - LH - Rear (Remove and Replace)
        • Footrest - Driver's (Remove and Replace)
      • 1519 - Center Console
        • Premium Console Sub-assembly (Remove and Replace)
        • Assembly - Closeout Extension - LH - Center Console (Remove and Replace)
        • Cup Holder (Remove and Replace)
        • Trim - Center Console - Rear (Remove and Replace)
        • Assembly - Panel - Wrapped - LH (Remove and Replace)
        • Vent - Center Console (Remove and Replace)
        • Center Console Assembly (Remove and Replace)
        • Drop In Center Console Assembly (Remove and Replace)
        • 2nd Row Center Console Assembly (Remove and Replace)
        • Center Console - 2nd Row - Executive (Remove and Replace)
        • Finisher - Floor - Center Console (Remove and Replace)
        • Armrest Pads - Center Console - 1st Row (Remove and Replace)
        • Base - Armrest - Center Console (Remove and Replace)
        • Panel - Center Console - Wrapped - Rear - LH (Remove and Replace)
        • Decor - Armrest - Center Console (Remove and Replace)
      • 1520 - Headliner
        • Headliner (Remove and Install)
        • Headliner (Remove and Replace)
        • Headliner - Glass Roof (Remove and Replace)
        • Headliner - Panoramic Roof (Remove and Install)
        • Headliner - Panoramic Roof (Remove and Replace)
        • Overhead Console (Remove and Replace)
      • 1524 - Luggage Compartment Trim
        • Underhood Storage Unit (Remove and Install)
        • Underhood Storage Extension Box (Remove and Install)
        • Assembly - Hood Latch Cover (Remove and Replace)
        • Light - Underhood Storage Area (Remove and Replace)
        • Trim - Rear Trunk - Side - LH (Remove and Replace)
        • Trim - Rear Trunk - Side - RH (Remove and Replace)
        • Trim - Rear Trunk - Floor (Remove and Replace)
        • Crossmember - Front Trunk (Remove and Replace)
      • 1530 - Carpeting and Mats
        • Carpet - Underhood Storage (Remove and Install)
        • Carpet - Interior Complete (Remove and Replace)
        • Insulator - Dash - Interior - LH (Remove & Replace)
        • Insulator - Dash - Interior - RH (Remove & Replace)
    • 16 - BATTERY SYSTEM
      • 1601 - HV Battery Assembly
        • Aeroshield Support Tab - HV Battery 1.0/1.5 (Remove and Replace)
        • Aeroshield Support Tab - HV Battery 2.0 (Remove and Replace)
        • High Voltage Battery Assembly - Battery Blanket (Retrofit)
        • HV Battery (RWD/AWD) (Remove and Install)
        • HV Battery (RWD/AWD) (Remove and Replace)
        • HV Battery Blanket (Remove and Replace)
        • HV Battery Coolant - Drain and Refill
        • HV/LV Ancillary Unit (HV Battery 2.0) (Remove and Replace)
      • 1610 - HV Battery Enclosure
        • Baffle - Front - HV Battery (Rework)
        • Cover - Pyrotechnic Fuse - HV Battery 1.0/1.5 (Inspect)
        • Cover - Pyrotechnic Fuse - HV Battery 2.0 (Inspect)
        • Cover - Pyrotechnic Fuse - HV Battery 1.0/1.5 (Remove and Replace)
        • Cover - Pyrotechnic Fuse - HV Battery 2.0 (Remove and Replace)
        • HV Battery Air Leak Test
        • Mud Flaps - HV Battery (Retrofit)
        • Ski - Side Rail - HV Battery - LH (Remove and Replace)
        • Umbrella Valves - HV Battery (Remove and Replace)
      • 1630 - HV Battery Electrical Components
        • BMS PCBA - High Voltage Battery Assembly (HV Battery 1.0/1.5) (Remove & Replace)
        • BMS PCBA - High Voltage Battery Assembly (HV Battery 2.0) (Remove & Replace)
        • BMS Standoff - High Voltage Battery Assembly (Repair)
        • Contactors - HV Battery (HV Battery 1.0/1.5) (Remove and Replace)
        • Fuse - Pyrotechnic - HV Battery 1.0/1.5 (Remove and Install)
        • Fuse - Pyrotechnic - HV Battery 1.0/1.5 (Remove and Replace)
        • Fuse - Pyrotechnic - HV Battery 2.0 (Remove and Install)
        • Fuse - Pyrotechnic - HV Battery 2.0 (Remove and Replace)
        • Rapid Mate - Low Voltage - HV Battery 2.0 (Remove and Replace)
        • Resistance Meter (Zero Adjust)
    • 17 - ELECTRICAL
      • 1701 - 12V Battery and Fuses
        • Vehicle HV Disablement Procedure
        • Disconnect 12V Power
        • 12V Positive Jump Post (Remove and Replace)
        • Battery - Auxiliary - 12V (Remove and Replace)
        • DCDC Terminal Stud - Fuse Box - Underhood (Rework)
        • Fusebox - Battery (LHD) (Remove and Replace)
        • Fusebox - Battery (RHD) (Remove and Replace)
        • Fuse Box - Cabin - Front (Remove and Replace)
        • Fusebox - Underhood - 2nd Generation (Remove and Replace)
        • Fuse Box - Underhood - 2nd Generation (Rework)
        • 12V Battery Bracket Beam (Remove and Replace)
        • Bracket - 12V Battery (Dual Motor) (Remove and Replace)
        • E-Fuse Module (1st Generation) (Remove and Replace)
        • E-Fuse Module (2nd Generation) (Remove and Replace)
        • Inline Fuse - E-Fuse to Front Trunk Body Controller (175A) (Remove and Replace)
        • Inline Fuse - E-Fuse to Cabin Body Controller (125A) (Remove and Replace)
      • 1710 - Harnesses
        • Harness - Body - LH (Remove and Replace)
        • MSR RHD AWD - Electrical Harnesses - Main (Lower Dash) And Motor Bay Harnesses - Lower Dash Body Harness (RR)
        • Harness - Body - RH (Remove & Replace)
        • Harness - Door - Front - LH (Remove and Replace)
        • Harness - Front End Module (2nd Generation) (Remove & Replace)
        • Harness - Front Drive Unit (Remove and Replace)
        • Harness - Instrument Panel (Remove and Replace)
        • Harness - Liftgate (Remove and Replace)
        • Harness - Lower Dash (Remove and Replace)
        • Harnesses - Main Lower Dash and Front Trunk (RHD) (Dual Motor) (Remove and Replace)
        • Harnesses - Main Lower Dash and Front Trunk (RHD) (RWD) (Remove and Replace)
        • Harness - Media Control Unit (Retrofit)
        • Harness - Trunk - Front (Remove and Replace)
      • 1715 - Electronic Control Modules
        • Gaskets - Antistatic - Autopilot ECU (Install)
        • Module - Autopilot - ECU (Dispose)
        • Module - Autopilot - ECU - 2nd and 3rd Generation (Remove and Replace)
        • Module - Body Controller - BCM (Remove and Replace)
        • Module - Body Controller - BCM (1st Generation) (RHD) (Remove and Replace)
        • Module - Body Controller - BCM (2nd generation) (RHD) (Remove and Replace)
        • Module - HomeLink Transmitter (Remove and Replace)
        • Module - Intrusion Sensor (Remove and Replace)
        • Module - Sunroof Controller (LHD) (Remove and Replace)
        • Module - Sunroof Controller (RHD) (Remove and Replace)
      • 1720 - Radar Sensor
        • Bracket - Radar - Front (DAS 1/2) (Remove and Replace)
        • Bracket - Radar - Front (DAS 2.5) (Remove and Replace)
        • Sensor - Radar - Front (Remove and Replace)
        • Calibration - Front Radar Sensor
      • 1723 - Front Cameras
        • Camera - Forward Facing (Remove and Replace)
        • Target Calibration - Forward Facing Camera
        • Drive Cycle Calibration - Forward Facing Camera
        • Camera - Forward Facing (Pitch Verification)
        • Triple Camera Pitch Adjustment - Forward Facing - 2nd Generation Autopilot (Retrofit)
        • Image Capture - Forward Facing Camera
      • 1725 - Rear Camera
        • Camera - Rear View (Remove and Replace)
      • 1726 - B-Pillar Cameras
        • Camera - B-Pillar (Remove and Replace)
      • 1727 - Parking Sensors
        • Retainer - Sensor - Parking Distance (Remove and Replace)
        • Sensor - Parking Distance - Inner - Front (Remove and Replace)
        • Sensor - Parking Distance - Outer - Front (Remove and Replace)
        • Sensor - Parking Distance - Inner - Rear (Remove and Replace)
        • Sensor - Parking Distance - Outer - Rear (Remove and Replace)
        • Module - Park Assist (Remove and Replace)
      • 1730 - Interior Switches and Aux Power Socket
        • Column Switch - Wash/Wipe (Remove and Replace)
        • Column Switch - Cruise Control (Remove and Replace)
        • Column Switch - Tilt/Telescope (Remove and Replace)
        • Switch - Glove Box (Remove and Replace)
        • Switches - Steering Wheel (Remove and Replace)
        • Assembly - Switches/Harness - Steering Wheel (Remove and Replace)
        • Power Socket 12V - Center Console (Remove and Replace)
      • 1735 - Interior Lighting
        • Front Reading (Dome) Lights (Remove and Replace)
        • Rear Reading (Dome) Lights (Remove and Replace)
      • 1740 - Exterior Lights
        • Ballast - HID - LH (SAE) (Remove and Replace)
        • Headlights (Adjust), North America (SAE)
        • Headlights (Adjust), Europe (ECE)
        • Headlight Assembly - LH (Remove and Replace)
        • Light - Brake - High Mounted (Remove and Replace)
        • Light - License Plate (Remove and Replace)
        • Light - Fog/Reverse - Rear - LH (Remove and Replace)
        • Light - Reflex - Rear - LH (Remove and Replace)
        • Lamp - Side Repeater - Front - LH
        • Lamp and Camera Assembly - Side Repeater - Front - LH (Remove and Replace)
        • Lights - Fog - Front (Adjust)
        • Light - Fog - Front - LH (Remove and Replace)
        • Switch - Hazard Warning (Remove and Replace)
        • Taillight Assembly - LH (Remove and Replace)
        • HID Bulb – Headlight - LH (Remove and Replace)
        • Halogen Bulb - Headlight – LH (Remove and Replace)
        • Coax Cable - Side Repeater - Front - LH (Replace)
        • Coax Cable - Side Repeater - Front - RH (Replace)
      • 1745 - Keyless Entry and Security
        • Casing - Key Fob (Remove and Replace)
        • Key Fob - Program
        • LF Antenna - Bumper Carrier (Remove and Replace)
        • LF Antenna - RH - A Post (Remove and Replace)
        • LF Antenna - Dash - Front - LH (Remove and Replace)
        • LF Antenna - Center - Heelboard (Remove and Replace)
        • LF Antenna - Center - Rear (Remove and Replace)
        • Siren - Battery Backed (Remove and Replace)
        • Receiver - Remote Keyless Entry (RKE) - Immobilizer (Remove and Replace)
      • 1750 - Wipers and Washers
        • Hose - Windshield Washer (Remove and Replace)
        • Nozzle - Windshield Washer (Adjust)
        • Nozzle - Windshield Washer Jet (Remove and Replace)
        • Pump - Windshield Washer Reservoir (Remove and Replace)
        • Reservoir - Windshield Washer (Remove and Replace)
        • Sensor - Level - Windshield Washer Reservoir (Remove and Replace)
        • Wiper Arm - LH (Remove and Replace)
        • Wiper Blade - LH (Remove and Replace)
        • Wiper Blades - Adjust
        • Wiper Blades - Pair (Remove and Replace)
        • Wiper Module (Remove and Replace)
      • 1753 - Horn
        • Horn - 1st Generation (Remove and Replace)
        • Horn - (Remove and Replace)
      • 1754 - Pedestrian Warning Speaker
        • Speaker - Pedestrian Warning (Remove and Replace)
      • 1755 - Accelerator Pedal
        • Accelerator (Remove and Replace)
      • 1757 - Pyrotechnic Battery Disconnect
        • Pyrotechnic Battery Disconnect (Remove and Replace)
    • 18 - THERMAL MANAGEMENT
      • 1810 - Cabin HVAC
        • Filter - Particulate (Remove and Replace)
        • HVAC Assembly (Remove and Replace)
        • Actuator - Inlet (Remove and Replace)
        • Actuator - Driver's Temperature (Remove and Replace)
        • Actuator - Mode (Remove and Replace)
        • Actuator - Front Passenger's Temperature (Remove and Replace)
        • Actuator - Defrost (Remove and Replace)
        • Air Extractor - Outer - LH (Remove and Replace)
        • Blower Motor - HVAC (Remove and Replace)
        • Blower Control FET Assembly - Blower Motor - HVAC (RHD) (Remove and Replace)
        • Hose - HVAC - Drain (Remove and Replace)
        • Hose - Front HVAC - Drain (Dual Motor) (Remove and Replace)
        • Heater - PTC (LHD) (RWD) (Remove and Replace)
        • Heater - PTC (LHD) (Dual Motor) (Remove and Replace)
        • Heater - PTC (RHD) (RWD) (Remove and Replace)
        • Heater - PTC (RHD) (Dual Motor) (Remove and Replace)
        • Filter - HEPA (Remove and Replace)
        • Duct - HEPA Filter - Inlet (Remove and Replace)
        • Duct - HEPA Filter - Outlet (Remove and Replace)
        • Module - Condenser Fan Control - LH (Remove and Replace)
        • Module - Thermal Controller (Remove and Replace)
        • Module - HVAC Controller - RCCM (Remove and Replace)
        • Sensor - Ambient Air Temperature (Remove and Replace)
        • Sensor - In-Vehicle Temperature - Center Console (Remove and Replace)
        • Sensor - Temperature - Evaporator (Remove and Replace)
        • Vehicle Sanitation - Interior Air - Tunap 589 (EMEA)
        • Vehicle Sanitation - Evaporator - Tunap 994 (EMEA)
      • 1820 - Refrigerant System
        • Use Evaporator Foam Cleaner, Replace Cabin Filters
        • Use HVAC Cleaning Machine
        • A/C Refrigerant Recovery and Recharge (Remove and Replace)
        • A/C Refrigerant Leak Detection
        • Condenser - Gas-Cool - LH (Remove and Replace)
        • Condenser - Sub-Cool - RH (Remove and Replace)
        • Evaporator (1st Generation) (Remove and Replace)
        • Evaporator (2nd Generation) (Remove and Replace)
        • Fan - Condenser - LH (Remove and Replace)
        • Fan - Condenser - RH (Remove and Replace)
        • Receiver Dryer and Desiccant (Remove and Replace)
        • Compressor (Remove and Replace)
        • Mounting - Air Conditioning Compressor (Remove and Replace)
        • Pipe - High Pressure - Sub-Cool Condenser to Chiller (Remove and Replace)
        • Pipe - High Pressure - Charge Port (Remove and Replace)
        • Pipe - High Pressure - Compressor to Condenser (Remove and Replace)
        • Pipe - High Pressure - Compressor to Condenser (Dual Motor) (Remove and Replace)
        • Pipe - Low Pressure - Charge Port (Remove and Replace)
        • Pipe - High Pressure - Charge Port (Dual Motor) (Remove and Replace)
        • Pipe - High Pressure - Gas Cool to Sub-Cool Condenser (Remove and Replace)
        • Pipe - Low Pressure - Chiller (Remove and Replace)
        • TXV Valve - Evaporator (Remove and Replace)
        • TXV Valve - Chiller (Remove and Replace)
        • Sensor - Pressure and Temperature - High Pressure (Remove and Replace)
        • Sensor - Pressure and Temperature - Low Pressure (Remove and Replace)
        • Battery Chiller and expansion valve Assembly (Remove and Replace)
        • A/C Refrigerant Flush Due To Compressor Failure (RWD) (NA)
        • A/C Refrigerant Flush Due To Compressor Failure (Dual Motor) (NA)
        • A/C Refrigerant Flush Due To Compressor Failure (Dual Motor) (Europe)
      • 1830 - Cooling System
        • Cooling System - Partial Refill and Bleed
        • Cooling System - Drain and Refill
        • Cooling System - Check and Fill
        • Cooling System - Vacuum Refill
        • Cooling System - Thermal Test
        • Radiator (Remove and Replace)
        • Reservoir Assembly - Coolant (Remove and Replace)
        • Reservoir Assembly - Coolant (Dual Motor) (Remove and Replace)
        • Reservoir Cap - Coolant (Remove and Replace)
        • 3 Way Coolant Valve - Chiller Bypass (Remove and Replace)
        • 3 Way Coolant Valve - Radiator Bypass (Remove and Replace)
        • 4 Way Coolant Valve - Series/Parallel (Remove and Replace)
        • Coolant Heater - Electric - Battery - 1st Generation (Remove and Replace)
        • Coolant Heater - Electric - Battery - 2nd Generation (Remove and Replace)
        • Coolant Heater - Electric - Battery (Dual Motor) (Remove and Replace)
        • Coolant Heater - Electric - Battery (E-Fuse) (Remove and Replace)
        • Coolant Rapid Mate - Vehicle Side (Remove & Replace)
        • Coolant Rapid Mate - Vehicle Side (HV Battery Already Removed) (Remove and Replace)
        • Battery Coolant Pump 1 (1st Generation) (Remove and Replace)
        • Battery Coolant Pump 1 (2nd Generation) (Remove and Replace)
        • Battery Coolant Pump 1 (3rd Generation) (Remove and Replace)
        • Battery Coolant Pump 2 (Remove and Replace)
        • Powertrain Coolant Pump 1 (Remove and Replace)
        • Powertrain Coolant Pump 2 (Remove and Replace)
        • Hose Assembly - Rocker Side - Rear Drive Unit - LH (Remove & Replace)
        • Hose - Outlet - Rear Drive Unit (Remove and Replace)
        • Clean Radiator
      • 1850 - Air Distribution
        • Active Louver - Center (Remove and Replace)
        • Active Louver - Front Fascia - LH (Remove and Replace)
        • Duct - Condenser LH (Remove and Replace)
        • Motor - Active Louver - Front Fascia (Remove and Replace)
    • 20 - SAFETY AND RESTRAINT
      • Air Bag and Supplementary Restraint System (SRS) Precautions
      • 2001 - Air Bags
        • Air Bag - Driver's (Remove and Replace)
        • Air Bag - Front Passenger's (Remove and Install)
        • Air Bag - Front Passenger's (Remove and Replace)
        • Curtain Air Bag - Driver's (Remove and Replace)
        • Curtain Air Bags - Pair (Retrofit)
        • Knee Air Bag - Driver's (Remove and Replace)
        • Knee Air Bag - Front Passenger's (Remove and Replace)
        • Module - Passive Safety Restraint - PSRCM (Remove and Replace)
        • Remove the Front Seat Airbag and Discard
        • Side Air Bag - Driver's (Remove and Replace)
      • 2005 - Seat Belts
        • Retractor - Seatbelt - 1st Row - LH (Remove and Replace)
        • Buckle Assembly - 1st Row - LH (Remove and Replace)
        • Seat Belt Assembly - 2nd Row - LH (Remove and Replace)
        • Buckle Assembly - 2nd Row - LH (Remove and Replace)
        • Seat Belt Assembly - 2nd Row - Center (Remove and Replace)
        • Seat Belt Assembly - 3rd Row - LH (Remove and Replace)
        • Buckle Assembly - 3rd Row - LH (Remove and Replace)
      • 2010 - Pre-Tensioners
        • Pre-Tensioner - Outboard Lap - 1st Row - LH (Remove and Replace)
      • 2020 - Sensors
        • Sensor - Impact - Door - Front (Remove and Replace)
        • Sensor - Impact - Front - LH (Remove and Replace)
        • Sensor - Impact - B-Pillar (Remove and Replace)
        • Sensor - Impact - C-Pillar (Remove and Replace)
        • Switch - Reminder - Seat Belt - Driver's Seat (Remove and Replace)
        • Sensor - Occupant Classification - Front Passenger's Seat (Remove and Replace)
        • Sensor - Occupant Classification System - 1st Row - RH (Remove and Replace)
        • Sensor - Occupant Classification - Front Passenger’s Seat - Calibration
        • Sensor - Pressure Tube (Remove and Replace)
        • Sensor - Shotgun Accelerometer - LH (Remove and Replace)
        • Sensor - T-Bar Accelerometer - LH (Remove and Replace)
        • Sensor - Impact Accelerometer - Front Bumper - LH (Remove and Replace)
      • 2030 - Pedestrian Protection System
        • Actuator - Pedestrian Protection - LH - 1st Generation (Remove and Replace)
        • Actuator - Pedestrian Protection - LH - 2nd Generation (Remove and Replace)
    • 21 - INFOTAINMENT
      • 2105 - Displays
        • Instrument Cluster (Remove and Replace)
        • Display - Instrument Cluster (Tegra) (Remove and Replace)
      • 2106 - Media Control Unit
        • Media Control Unit (Dispose)
        • Media Control Unit (Remove and Install)
        • Media Control Unit (Remove and Replace)
        • Navigation Micro SD Card - Media Control Unit (Remove and Replace)
        • SIM Card - With SIM Extender (Remove and Replace)
        • Gateway SD Card - Media Control Unit (Remove and Replace)
      • 2121 - Audio System - Speakers, Subwoofer, Amplifier
        • Speaker - Front Door - LH - Premium (Remove and Replace)
        • Speaker - Rear Door All, Front Door Base Audio (Remove and Replace)
        • Subwoofer Assembly (Remove and Replace)
        • Tweeter - 'A' Post - LH (Remove and Replace)
        • Speaker - Rear - LH/RH (Remove and Replace)
        • Premium Boost Amplifier (Remove and Replace)
        • Premium Boost Amplifier (RHD) (Remove and Replace)
      • 2122 - Audio System - AM, FM, and HD Radio
        • Tuner - Radio (Remove and Replace)
        • Tuner - Radio (RHD) (Remove and Replace)
        • Tuner - FM / HD (LHD) (Refresh) (Remove and Replace)
        • Tuner - FM / HD (RHD) (Refresh) (Remove and Replace)
      • 2130 - Antenna - AM, FM, and HD Radio
        • Antenna Amplifier - AM/FM and RKE (Remove and Replace)
        • Antenna Amplifier - FM2/Satellite/DAB (Remove and Replace)
        • Antenna - RF Filter - RH (Remove and Replace)
        • Antenna - AM/FM/RKE (Remove and Replace)
        • Antenna - FM2 and Defrost Grid (Remove and Replace)
        • Antenna - DAB (Remove and Replace)
      • 2131 - Antenna - Satellite Radio
        • Antenna - Satellite Radio - Liftgate-Mounted (Remove and Replace)
        • Antenna - Satellite Radio - Roof-Mounted (Remove and Replace)
      • 2125 - Audio System - Bluetooth
        • Microphone - Bluetooth (Remove and Replace)
      • 2126 - Audio System - USB Media Port
        • USB Socket - Center Console - Rear (Remove and Replace)
        • Dock Connector - Telephone - USB - Center Console (Remove and Replace)
      • 2132 - Antenna - GPS
        • Antenna - GPS (Remove and Replace)
      • 2133 - Antenna - Wi-Fi
        • Antenna - WiFi (Remove and Replace)
      • 2135 - Antenna - GSM
        • Antenna - GSM - LH (Remove and Replace)
    • 24 - ROOF
      • 2410 - Panoramic Roof
        • Panoramic Roof - Calibrate
        • Panoramic Roof - Adjust
        • Link - Panoramic Roof - 1st Generation - Rear - LH (Remove and Replace)
        • Link - Panoramic Roof - 2nd Generation - Rear - LH (Remove & Replace)
        • Panoramic Roof - Clean and Lubricate
        • Sliding Glass - Panoramic Roof Assembly (Remove and Replace)
        • Fixed Glass - Panoramic Roof Assembly (Remove and Replace)
        • Frame - Panoramic Roof Assembly (Remove and Replace)
        • Side Applique - Panoramic Roof - 1st Generation - LH (Remove and Replace)
        • Side Applique - Panoramic Roof - 2nd Generation - LH (Remove and Replace)
        • Side Appliques - Panoramic Roof - 2nd Generation - LH/RH (Retrofit)
        • Front Applique - Panoramic Roof - 1st Generation (Remove and Replace)
        • Front Applique - Panoramic Roof - 2nd Generation (Remove and Replace)
        • Panoramic Roof Drive Cable - LH (Remove and Replace)
        • Motor Block - Panoramic Roof - 2nd Generation - Both (Remove and Replace)
        • Wind Deflector Arm - LH (Remove and Replace)
        • Wind Deflector (Remove and Replace)
        • Main Seal - Panoramic Roof - 1st Generation (Remove and Replace)
        • Motor - Sunroof - LH (Remove and Replace)
        • Motor - Sunroof - RH (Remove and Replace)
      • 2430 - Fixed Glass Roof
        • Fixed Glass Roof Rack (Retrofit)
    • 30 - CHASSIS
      • 3001 - Chassis and Subframes
        • Subframe Assembly - Rear (Remove and Install)
        • Subframe Assembly - Rear (Remove and Replace)
        • Skidplate - Front (Remove and Replace)
        • Skidplate - Rear (Remove and Replace)
        • Skid Bar - Front Subframe (Remove and Replace)
        • Bash Plate - Front - Stamping (Remove and Replace)
        • Bash Plate - Front - Extrusion (Remove and Replace)
        • Subframe Assembly - Front (1st Generation) (RWD) (Remove and Install)
        • Subframe Assembly - Front (1st Generation) (Dual Motor) (Remove and Install)
        • Subframe Assembly - Front (2nd Generation) (RWD) (Remove and Install)
        • Subframe Assembly - Front (2nd Generation) (Dual Motor) (Remove and Install)
        • Subframe Assembly - Front (3rd Generation) (Remove and Install)
        • Subframe Assembly - Front (1st and 2nd Generations) (Remove and Replace)
        • Subframe Assembly - Front (3rd Generation) (Remove and Replace)
    • 31 - SUSPENSION
      • Alignment Requirement - Suspension
      • 3100 - Adjustment
        • Four Wheel Alignment Check (Coil Suspension)
        • Four Wheel Alignment Check (Air Suspension)
        • Four Wheel Alignment Check and Adjust (Coil Suspension)
        • Four Wheel Alignment Check and Adjust (Air Suspension)
        • Ride Height - Adjust
      • 3101 - Front Suspension (including Hubs)
        • Suspension - Front - Check Torque
        • Knuckle - Suspension - Front - LH (Remove and Replace)
        • Hub - Front - LH (Remove and Replace)
        • Link - Stabilizer Bar - Front - LH (Remove and Replace)
        • Stabilizer Bar - Front (RWD) (Remove and Replace)
        • Stabilizer Bar - Front (Dual Motor) (Remove and Replace)
        • Stabilizer Bar - Front (Dual Motor) (3rd Generation) (Remove and Replace)
        • Control Arm - Upper - Front - LH (Remove and Replace)
        • Control Arm - Upper - Front - LH (1st Generation) (RHD) (RWD) (Remove and Replace)
        • Control Arm - Upper - Front - LH (2nd Generation) (RHD) (Dual Motor) (Remove and Replace)
        • Control Arm - Upper - Front - RH (1st Generation) (RWD) (Remove and Replace)
        • Link - Fore - Lower - Front - LH (Remove and Replace)
        • Link - Aft - Lower - LH (Remove and Replace)
        • Links - Aft - Lower - LH/RH (Remove and Replace)
        • Links - Fore - Lower - Front - LH/RH (Remove and Replace)
        • Links - Front Suspension - Lower - Fore and Aft - LH/RH (Remove & Replace)
      • 3103 - Rear Suspension (including Hubs)
        • Suspension - Rear - Check Torque
        • Knuckle - Suspension - Rear - LH (Remove and Replace)
        • Hub - Rear - LH (Remove and Replace)
        • Control Arm Assembly - Rear - Lower - LH (Remove and Replace)
        • Link - Suspension - Rear - Upper - LH (Remove and Replace)
        • Toe Link Assembly - Rear - LH (Remove and Replace)
        • Toe Link Assembly - Rear - Pair (Remove and Replace)
        • Stabilizer Bar - Rear (Remove and Replace)
        • Drop Link - Stabilizer Bar - Rear - LH (Remove and Replace)
        • Integral Link - Rear - LH (Remove and Replace)
      • 3110 - Air Suspension System
        • Adaptive Air Spring Module - Front - LH (Remove and Replace)
        • Air Dryer - Tesla Air Suspension (Regenerate)
        • Air Line - Air Suspension - Compressor to Valve Block (Remove and Replace)
        • Air Line - Air Suspension - Reservoir to Compressor (Remove and Replace)
        • Air Line - Air Suspension - Valve Block Exhaust (Remove and Replace)
        • Air Line - Air Suspension - Valve Block to LH Front Air Spring (Remove and Replace)
        • Air Spring Module - Front - LH (Remove and Replace)
        • Air Spring Module - Rear - LH (Remove and Replace)
        • Air Suspension - Pressurize/Depressurize - One Air Spring
        • Air Suspension - Pressurize/Depressurize - Full System
        • Air Suspension - Primary Lines Assembly (Remove and Replace)
        • Compressor - Air Suspension (Remove and Replace)
        • Harness - Adaptive Air Spring Module - Front - LH (Remove and Replace)
        • Reservoir - Air Suspension (Remove and Replace)
        • Line - Air Suspension (Repair)
        • Module - Air Suspension - ECU (Remove and Install)
        • Module - Air Suspension - ECU (Remove and Replace)
        • Module - Air Suspension - ECU (Tesla) (LHD) (Remove and Replace)
        • Module - Air Suspension - ECU (RHD) (Remove and Install)
        • Module - Air Suspension - ECU (Continental) (RHD) (Remove & Replace)
        • Module - Air Suspension - ECU (Tesla) (RHD) (Remove and Replace)
        • Sensor - Ambient Air Temperature - Compressor (Remove and Replace)
        • Sensor - Ride Height - Front - LH (Remove and Replace)
        • Sensor - Ride Height - Front - LH (Retrofit)
        • Sensor - Ride Height - Rear - LH (Remove and Replace)
        • Valve Block - Air Suspension (Remove and Replace)
      • 3115 - Coil Spring Suspension System
        • Spring and Damper Assembly - Front - LH (Remove and Replace)
        • Spring and Damper Assembly - Rear - LH (Remove and Replace)
    • 32 - STEERING
      • 3201 - Steering Rack and Lower Column
        • Bellows - Steering Rack - LH (Remove & Replace)
        • Bellows - Steering Rack - RH (Remove & Replace)
        • Steering Rack (LHD RWD) (1st Generation) (Remove and Replace)
        • Steering Rack (LHD RWD) (2nd Generation) (Remove and Replace)
        • Steering Rack (LHD Dual Motor) (1st Generation) (Remove and Replace)
        • Steering Rack (LHD Dual Motor) (2nd Generation) (Remove and Replace)
        • Steering Rack (LHD Dual Motor) (3rd Generation) (Remove and Replace)
        • Steering Rack (RHD RWD) (1st Generation) (Remove and Replace)
        • Steering Rack (RHD Dual Motor) (1st Generation) (Remove and Replace)
        • Steering Rack (RHD RWD) (2nd Generation) (Remove and Replace)
        • Steering Rack (RHD Dual Motor) (2nd Generation) (Remove and Replace)
        • Steering Rack (RHD Dual Motor) (3rd Generation) (Remove and Replace)
        • Tie Rod End - LH (Remove and Replace)
        • Tie Rod - Inner - RH (Remove and Replace)
        • Tie Rod - Inner - LH (Remove and Replace)
        • Seal - Steering - Dash (Remove and Replace)
        • Intermediate Shaft - Steering Column - Lower (RWD) (Remove and Replace)
        • Intermediate Shaft - Steering Column - Lower (Dual Motor) (2nd Generation) (Remove and Replace)
        • Intermediate Shaft - Steering Column - Lower (Dual Motor) (1st Generation) (Remove and Replace)
        • Lock To Lock-Angle Test
        • Shaft - Steering Column - Intermediate Upper (Remove and Replace)
        • Shaft - Steering Column - Intermediate Upper (Dual Motor) (Remove and Replace)
        • Module - Steering Column Control (Remove and Replace)
      • 3205 - Upper Column, Steering Wheel
        • Steering Wheel (Remove and Replace)
        • Steering Column (Remove and Replace)
    • 33 - BRAKES
      • 3301 - Brake Discs and Calipers
        • Brake Rotor - Front - LH (Remove and Replace)
        • Brake Rotor - Front - LH (Measure Runout)
        • Brake Rotor - Rear - LH (Remove and Replace)
        • Brake Caliper - Front - LH (Remove and Replace)
        • Brake Caliper - Rear - Brembo - LH (Remove and Replace)
        • Brake Pad Kit - Front (Remove and Replace)
        • Brake Pad Kit - Rear - Brembo (Remove and Replace)
        • Brake Pads - Burnishing
        • Shield - Dust - Brake - Front - LH (Remove and Replace)
        • Shield - Dust - Brake - Rear - LH (Remove and Replace)
        • Shield - Dust - Brake - Front - 2nd Generation (Retrofit)
        • Brake Caliper - Rear - Mando - LH (Remove and Replace)
        • Brake Pad Kit - Rear - Mando (Remove and Replace)
        • Rigid Pipe - Brake Caliper - Front - LH (Remove and Replace)
        • Rigid Pipe - Brake Caliper - Rear - LH (Remove and Replace)
        • Clean and Lubricate Brake Calipers (Integrated Parking Brake)
        • Clean and Lubricate Brake Calipers (Separate Parking Brake)
      • 3303 - Brake Pipes and Hoses
        • Bleed Procedure - One Caliper (Remove and Replace)
        • Bleed or Flush Procedure - System (Remove and Replace)
        • Brake Fluid Check
        • Brake Hose - Adaptive - Front - LH (Remove and Replace)
        • Brake Hose - Flexible - Front - LH (Remove and Replace)
        • Brake Hose - Flexible - Rear - LH (Remove and Replace)
        • Brake Line - Junction Block to Rear Wheels (Remove and Replace)
        • Brake Lines - Master Cylinder to ABS (1st Generation) (RWD) (RHD) (Remove and Replace)
        • Brake Lines - Master Cylinder to ABS (RWD) (RHD) (Remove and Replace)
        • Brake Lines - Booster to ABS (Dual Motor) (RHD) (Remove and Replace)
      • 3305 - Parking Brake
        • Rear Park Brake Caliper Release
        • Park Brake Caliper - Release - Harness Tool - Through Calipers
        • Park Brake Caliper - Release - Harness Tool - Through ECU
        • Brake Caliper - Rear - Park Brake - LH (Remove and Replace)
        • Brake Pads - Park Brake - Set (Remove and Replace)
        • Brake Pads - Park Brake - Burnishing
        • Module - Electric Park Brake - EPB (Remove and Replace)
        • Brake Caliper Pad Slides and Parking Brake Calipers - Cleaning and Lubrication
      • 3310 - ABS, Traction, and Stability Control
        • ABS Modulator Assembly (Remove and Replace)
        • Sensor - Wheel Speed - ABS - Front - LH (Remove and Replace)
        • Sensor - Wheel Speed - ABS - Rear - LH (Remove and Replace)
        • Sensor Cluster - ESC (Remove and Replace)
      • 3317 - Vacuum Brake Booster
        • Master Cylinder and Reservoir Assembly (Remove and Replace)
        • Reservoir - Master Cylinder (Remove and Replace)
        • Vacuum Brake Booster Assembly (Remove and Replace)
        • Vacuum Pump (Remove and Replace)
        • Bracket - Vacuum Pump (Remove and Replace)
      • 3320 - Electromechanical Brake Booster
        • Electromechanical Brake Booster Assembly (Remove and Replace)
        • Sensor - Brake Reservoir Fluid Level (Remove and Replace)
      • 3325 - Brake Pedal
        • Brake Pedal (Remove and Replace)
        • Switch - Brake Light (Remove and Replace)
    • 34 - WHEELS AND TIRES
      • 3401 - Wheels
        • Wheel Assembly (Remove and Install)
        • Wheel (Remove and Replace)
        • Wheels - Axle Set (Remove and Install)
        • Wheels - Vehicle - Set (Remove and Install)
      • 3402 - Tires
        • Replacement Tire Information
        • Tire - Front - LH (Balance)
        • Tire - Front - LH (Remove and Replace)
        • Tire - Front - LH (Road Force) (Balance)
        • Tire - Front - LH (Repair)
        • Tire Rotation
      • 3404 - Tire Pressure Monitoring System (TPMS)
        • Wheel Sensor - TPMS (Remove and Replace)
        • TPMS Sensor - ID Learn Procedure - Baolong
        • TPMS Sensor - ID Learn Procedure - Continental
        • TPMS - Set Thresholds
        • Module - TPMS - Baolong (Remove and Replace)
        • Module - TPMS - Continental (Remove and Replace)
    • 39 - FRONT DRIVE UNIT
      • 3901 - Front Drive Unit Assembly
        • Bracket - FDU Motor Mount - Rear - RH (Remove and Replace)
        • Mount - Clevis - Front Drive Unit - LH (Remove and Replace)
        • Ground Strap - Front Drive Unit (Remove & Replace)
        • Front Drive Unit (From Above) (Remove and Install)
        • Front Drive Unit (From Above) (Remove and Replace)
        • Drive Unit - Front (1st Generation) (Remove and Install)
        • Drive Unit - Front (1st Generation) (Remove and Replace)
        • Drive Unit - Front (2nd Generation) (Remove and Install)
        • Drive Unit - Front (2nd Generation) (Remove and Replace)
        • Mount - Front Drive Unit - RH (1st Generation) (Remove and Replace)
        • Mount - Front Drive Unit - LH (1st Generation) (Remove and Replace)
        • Mount - Front Drive Unit - LH (1st Generation) (Adjust)
        • Mount - Front Drive Unit - LH (2nd Generation) (Remove and Replace)
        • Mount - Front Drive Unit - RH (2nd Generation) (Remove and Replace)
      • 3920 - Front Inverter
        • Inverter Air Leak Test - Front Drive Unit
      • 3930 - Front Gearbox and Halfshafts
        • Hose - DCDC Converter to Battery Pump 2 (Remove and Replace)
        • Hose - Coupler to Battery Pump 2 (Remove and Replace)
        • Gearbox Fluid - Front Drive Unit (1st Generation) (Drain and Refill)
        • Gearbox Fluid - Front Drive Unit (2nd Generation) (Drain and Refill)
        • Halfshaft - Front Drive Unit - LH (1st Generation) (Remove and Replace)
        • Halfshaft - Front Drive Unit - LH (2nd Generation) (Remove and Replace)
        • Halfshaft - Front Drive Unit - LH (Lubricate at Hub)
        • Halfshaft - Front Drive Unit - RH (1st Generation) (Remove and Replace)
        • Halfshaft - Front Drive Unit - RH (2nd Generation) (Remove and Replace)
        • Jackshaft Assembly - Front (Remove and Replace)
        • Oil Pump - Front Drive Unit (2nd Generation) (Remove and Replace)
        • Seal - Axle - Front Drive Unit - LH (1st Generation) (Remove and Replace)
        • Seal - Axle - Front Drive Unit - RH (1st Generation) (Remove and Replace)
        • Seal - Axle - Front Drive Unit - LH (2nd Generation) (Remove and Replace)
        • Seal - Axle - Front Drive Unit - RH (2nd Generation) (Remove and Replace)
    • 40 - REAR DRIVE UNIT
      • 4001 - Rear Drive Unit Assembly
        • Drive Unit - Rear - Large (Remove and Install)
        • Drive Unit - Rear - Large (Remove and Replace)
        • Drive Unit - Rear - Small (Remove and Install)
        • Drive Unit - Rear - Small (Remove and Replace)
        • Mount - Motor - Side (Remove and Replace)
        • Bushing - Drive Unit - Front (Remove and Replace)
        • Bushing - Drive Unit - Rear - Large (Remove and Replace)
      • 4010 - Rear Motor
        • Sensor - Motor - Speed (Remove and Replace)
      • 4020 - Rear Inverter
        • Large Drive Unit Inverter Isolation Check
      • 4030 - Rear Gearbox and Halfshafts
        • Gearbox Fluid - Large Rear Drive Unit (Remove and Replace)
        • Gearbox Fluid - Rear Small Drive Unit (Drain and Refill)
        • Rear Oil Seal - Differential to Halfshaft Assembly - Small Drive Unit - LH (Remove & Replace)
        • Oil Pump - Rear Drive Unit (Remove and Replace)
        • Halfshaft - Rear Drive Unit - LH (Lubricate at Hub)
        • Halfshaft Assembly - Rear - LH (Remove and Replace)
    • 44 - HIGH VOLTAGE SYSTEM
      • 4400 - High Voltage Testing
        • Isolation/Insulation Test
        • Vehicle HV Disablement Procedure
      • 4401 - Charge System Inlet
        • Charge Port - 3 Phase (Remove and Replace)
        • Charge Port (China) (Remove and Retrofit)
        • Charge Port (China) (Remove and Replace)
        • Charge Port - Manual Release of Cable
        • Charge Port - Single Phase - Motorized (Remove and Replace)
        • Charge Port - Single Phase - Non-Motorized - Manual Release of Cable
        • Charge Port - Single Phase - Non-Motorized (Remove and Replace)
        • Charge Port Voltage Check
        • Door - Charge Port (Remove and Replace)
        • Door Assembly - Charge Port (China) (Remove and Replace)
        • Pin Carrier - Charge Port (Remove and Replace)
        • Safety Cap - Charge Port to HV Battery (Remove and Replace)
      • 4410 - Onboard Charger
        • Actuator - Dual Motor - Charger Port (China) (Remove and Replace)
        • Slave Charger - LH - 1st Generation (Remove and Replace)
        • Slave Charger - LH - 2nd Generation (Remove and Replace)
        • Master Charger - RH - 1st Generation (Remove and Replace)
        • Master Charger - RH - 2nd Generation (Remove and Replace)
        • Master Charger - RH - 2nd Generation - Dual to Single Charger (Modify)
        • Charger - 3rd Generation (Remove and Replace)
        • Charger (China) (Remove and Replace)
        • Charge Port (Retrofit) (China)
      • 4420 - DCDC Converter
        • 40 Amp Fuse - Forward Junction Box - 2nd Generation (Dual Motor) (Remove and Replace)
        • DCDC Converter (Remove and Replace)
        • DCDC Converter - 2nd Generation (Retrofit)
        • Forward Junction Box (Remove and Replace)
        • Forward Junction Box - 1st Generation - 20 Amp Fuse (Remove and Replace)
        • Forward Junction Box - 1st Generation - 40 Amp Fuse (Remove and Replace)
        • Fuses - DCDC Converter - 1st Generation (Remove and Replace
        • HVIL Lid Switch - Forward Junction Box (Remove and Replace)
      • 4430 - High Voltage Junction Box
        • HV Junction Box - 1st Generation (Remove and Replace)
        • HV Junction Box - Cover - 1st Generation (Remove and Replace)
        • HV Junction Box - 2nd Generation (Remove and Replace)
        • HV Junction Box (Retrofit)
        • HV Junction Box and HV Harness (Retrofit)
        • HV Junction Box - Cover - 2nd Generation (Remove and Replace)
        • HV Junction Box - Reed Switch - 1st Generation (Remove and Replace)
      • 4440 - Rapid Mate and Rapid Splitter
        • HV Rapid Mate Vehicle Side (Remove and Replace)
        • Seal - HV Rapid Mate (Vehicle Side) (Remove and Replace)
        • HV Rapid Splitter Vehicle Side (Remove and Replace)
      • 4450 - HV Harnesses
        • HV Harness - HVJB to Charge Port - 2nd Generation (Remove and Replace)
        • HV Harness - Front Drive Unit to HVJB - 1st Generation (Remove and Replace)
        • HV Harness - FJB to Front Drive Unit - 2nd Generation (Remove and Replace)
        • HV Harness - Rear Drive Unit to HVJB - Small Rear Drive Unit (Remove and Replace)
        • HV Harness - Rear Drive Unit to HVJB - Large Rear Drive Unit (Remove and Replace)
        • HV Harness - Rear Drive Unit to HVJB (Subframe Removed) (Remove & Replace)
        • HV Harness - Rapid Splitter to Charger (Remove and Replace)
        • HV Harness - Rapid Splitter to FJB - Small Drive Unit (Remove and Replace)
        • HV Harness - Rapid Splitter to Rear Drive Unit (Remove and Replace)
        • HV Harness - 3rd Generation Charger to Charge Port (Remove and Replace)
        • Inline Fuse - HV Harness - HVJB to Front Drive Unit - 2nd Generation (Remove and Replace)
        • Inline Fuse to Busbar - HV Harness - HVJB to Front Drive Unit - 2nd Generation (Retrofit)
    • 50 - EXTERNAL CHARGING CONNECTORS
      • 5001 - Mobile Connector
        • Firmware Update - Mobile Connector
      • 5002 - Wall Connector
        • Handle and Cable Assembly - 40A Wall Connector (Remove and Replace)
        • Handle and Cable Assembly - 80A Wall Connector (Remove and Replace)
        • 200A Fuses - Wall Connector (Remove and Replace)
        • Remove Stuck Deadfront - Charge Handle
      • 5003 - Charging Adapters
        • Firmware Update - CHAdeMO Charging Adapter
    • © Tesla 2024
    • Procedure Feedback
    • Site Feedback

    Crowsfoot or Offset Wrench Extension Calculator

    Torque Calculator Values
    Note
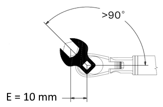
    1. If the angle from the extension to the torque wrench is greater than 90° (Figure 2), input E as a positive number.
    2. If the angle from the extension to the torque wrench is less than 90° (Figure 3), input E as a negative number.
    3. If the angle from the extension to the torque wrench is exactly 90°, this calculator is not needed. Torque the fastener to T1.
    Figure 1
    Figure 2
    Figure 3