Model X Service Manual

    2015-2020 Model X Service Manual

    Current Release Notes

    • 2015-2020 Model X Service Manual
    • Release Notes
      • Current Release Notes
      • Release Notes Archive
        • Release Notes June-September 2022
        • Release Notes October-December 2022
        • Release Notes January-March 2023
        • Release Notes April-June 2023
        • Release Notes July-September 2023
        • Release Notes October-December 2023
        • Release Notes January-March 2024
        • Release Notes April-June 2024
        • Release Notes July-September 2024
    • GENERAL INFORMATION
      • INTRODUCTION
        • Abbreviations and Symbols
        • Flat Rate Times
        • How To Use This Manual
        • Repairs and Replacements
        • Warranty Service Regions
      • BEST PRACTICES
        • Air Bag and Supplementary Restraint System (SRS) Precautions
        • Air Conditioning System Precautions
        • Diagnostic Connector Location
        • Electrical Precautions
        • Environmental Precautions
        • Event Data Recorder Retrieval
        • Flexible Pipes and Hoses
        • General Fitting Instructions
        • General Precautions
        • Locking Devices
        • Oil Seals
        • SRS Component Replacement Policy
        • Vehicle Cameras and Autopilot
        • Wheels and Tires
          • Wheel Disposal (Rework)
      • CHARGING
        • Charging Precautions
        • General
      • FLUIDS AND CAPACITIES
        • Fluids
        • Fluid Capacities
      • IDENTIFICATION NUMBERS
        • Drive unit number
        • Manufacturing certification label
        • Serial Number
        • Vehicle and Wheel Paint Codes
        • Vehicle Identification Number
        • Type Approval (EU)
      • TECHNICAL DATA
        • Body Controls Overview
        • Brakes
        • Electrical
        • Fuse Locations
        • Suspension
        • Tire Pressures
        • Wheel Alignment
        • Wheels
    • 00 - INSPECTION AND SERVICE
      • 0001 - Scheduled Service
        • Maintenance Service and Intervals
      • 0002 - Firmware Service
        • Firmware Reinstall - Touchscreen
        • Firmware Reinstall - Toolbox
        • Firmware Update
        • User Data (Factory Reset)
      • 0005 - Service Modes
        • Gateway Configuration (Display and Change)
        • Gateway Unlock
        • Service Mode
        • Service Mode Plus
        • Toolbox 3 (Connect and Disconnect)
    • 10 - BODY
      • 1000 - Vehicle Lifting
        • Jack Mode Activation
        • Raise Vehicle - 2 Post Lift
        • Raise Vehicle - 4 Post Lift
        • Raise Vehicle - Floor Jack (Mobile Service)
      • 1001 - Bumper/Fascia
        • Bright Trim - Upper Grille (Remove and Replace)
        • Bumper Assembly - Front (Remove and Replace)
        • Bumper Assembly - Rear (Remove and Replace)
        • Carrier - Grille - Front Upper (Remove and Replace)
        • Fascia Assembly - Front (Remove and Install)
        • Fascia Assembly - Front (Remove and Replace)
        • Fascia Assembly - Rear (Remove and Install)
        • Fascia Assembly - Rear (Remove and Replace)
        • Fascia Assembly - Rear - Lower (Remove and Replace)
        • Fascia Bracket - Center (Remove and Replace)
        • Grille - Front Lower (Remove and Replace)
        • Grille - Front Upper (Remove and Replace)
        • Panel - Closing - Lower - Front Fascia (Remove and Replace)
        • Panel - Closing - Upper - Front Fascia (Remove and Replace)
        • Skid Plate Chin Spoiler (Remove and Replace)
        • Spear - Fog Light - Lower - LH (Remove and Replace)
        • Spear - Fog Light - Upper - LH (Remove and Replace)
        • Surround - Grille - Front Upper (Remove and Replace)
        • Valance - Front Fascia (Remove and Replace)
      • 1010 - Body Panels
        • Bracket - Apron Attachment - LH (Remove and Replace)
        • Door Assembly - Front - LH (Remove and Install)
        • Door Assembly - Front - LH (Remove and Replace)
        • Door Assembly - Rear Lower - LH (Remove and Install)
        • Door Assembly - Rear Lower - LH (Remove and Replace)
        • Door Assembly - Rear Lower LH (Retrofit)
        • Door Assembly - Rear Upper - LH (Remove and Install)
        • Door Assembly - Rear Upper - LH (Remove and Replace)
        • Fender Assembly - Front - LH (Remove and Replace)
        • Grounding Stud - Front Rail (Restore)
        • Hood Assembly (Remove and Install)
        • Liftgate Assembly (Remove and Install)
        • Liftgate Assembly (Remove and Replace)
        • Liftgate Drain - LH (Remove and Replace)
        • Retainer - Sill - Front - LH (Remove and Replace)
        • Retainer - Sill - Rear - LH (Remove and Replace)
      • 1020 - Windshield, Liftgate Glass, and Body Glass
        • Clear Forward Camera View (Precision Cleaning Of Inboard Windshield)
        • Cover - Stanchion Collar - Backlight - LH (Remove & Replace)
        • Glass - Rear Quarter Window - LH (Remove and Install)
        • Glass - Rear Quarter Window - LH (Remove and Replace)
        • Liftgate Glass (Remove and Replace)
        • Sensor - HVAC - Light/Temperature/Humidity (Remove and Replace)
        • Sensor - Light/Rain (Vehicles with 1st Generation Autopilot) (Remove and Replace)
        • Windshield Chip Repair
        • Windshield Chip Repair (EMEA)
        • Windshield Scratch Repair
        • Windshield (Vehicles with 1st Generation Autopilot Hardware) (Remove and Install)
        • Windshield (Vehicles with 1st Generation Autopilot Hardware) (Remove and Replace)
        • Windshield (Vehicles with 2nd Generation or Later Autopilot Hardware) (Remove and Install)
        • Windshield (Vehicles with 2nd Generation or Later Autopilot Hardware) (Remove and Replace)
        • Windshield and Roof Glass Repair and Replacement Guidelines
      • 1030 - Paint
        • Paint Defect Rectification
      • 1040 - Spine
        • Applique - Spine - Center (Remove and Replace)
        • Closing Plate - Spine (Remove and Replace)
      • Panel Alignment
        • Panel Alignment Specifications
        • Rear Door Alignment
    • 11 - CLOSURE COMPONENTS
      • 1133 - Closure Assist Mechanisms and Hinges
        • Ball Cap - Front Door Drive Unit - LH (Remove and Replace)
        • C-Clips - Strut - Hood - LH (Remove and Replace)
        • C-Clips - Strut - Liftgate - LH (Remove and Replace)
        • Carrier - Sensor - Ultrasonic - Rear Door - LH (Remove and Replace)
        • Rear Door Spring - Front - LH (Remove and Replace)
        • Front Door Drive Unit - LH (Remove and Replace)
        • Gas Strut - Hood - LH (Remove and Replace)
        • Hinge - Door - Front - Lower - LH (Remove & Replace)
        • Hinge - Door - Front - Upper - LH (Remove & Replace)
        • Hinge - Hood - LH (Remove and Replace)
        • Module - Front Door Controller - LH (Remove and Replace)
        • Module - Rear Door Controller- LH (Remove and Replace)
        • Module - Rear Door Electromechanical Controller - LH (Remove and Replace)
        • Module - Rear Door Electromechanical Controller - RH (Remove and Replace)
        • Module - Ultrasonic Door Sensors - LH (Remove and Replace)
        • Pop Actuator - Front Door - LH (Remove and Replace)
        • Power Strut - Liftgate (Remove and Replace)
        • Rear Door Hinge - Primary - Front - LH (Remove and Replace)
        • Rear Door Hinge - Secondary - Front - LH (Remove and Replace)
        • Sensor - Ultrasonic - Rear Door - LH (Remove and Replace)
        • Strut - Rear Door - Primary - LH (Remove and Replace)
        • Strut - Rear Door - Secondary - LH (Remove and Replace)
        • Switch - Rear Door - B-Pillar - LH (Remove and Replace)
        • Switch - Rear Door - Door Mounted - LH (Remove and Replace)
      • 1135 - Latches, Strikers, and Pinch Sensors
        • Actuator - E Release - Door - Front - LH (Remove and Replace)
        • Actuator - Latch - Hood (Remove and Replace)
        • Actuator - Latch - Hood - Primary (Remove and Replace)
        • Actuator - Latch - Hood - Secondary (Remove and Replace)
        • Actuator and Cable - Cinching (Remove and Replace)
        • Cable - Latch - Hood - Primary (Remove and Replace)
        • Cable - Latch - Hood - Secondary (Remove and Replace)
        • Cinching Actuator - Door - Rear - LH (Remove and Replace)
        • Latch - Door - Front - LH (Remove and Replace)
        • Latches - Door - Front - Both (Remove and Retrofit)
        • Latch - Door - Rear - LH (Remove and Replace)
        • Latch - Hood (Remove and Replace)
        • Latch - Liftgate (Remove and Replace)
        • Pinch Sensor (1st row) - LH (Remove and Replace)
        • Pinch Sensor (2nd row) - Front - LH (Remove and Replace)
        • Pinch Sensor Carrier (2nd row) - Rear - LH (Remove and Replace)
        • Pinch Sensor (Forward Edge) - Liftgate (Remove and Replace)
        • Striker - Door - Front - LH (Remove and Replace)
        • Striker - Door - Rear - LH (Remove and Replace)
        • Striker - Hood (Remove and Replace)
        • Striker - Liftgate (Remove and Replace)
        • Switch - Liftgate - Interior (Remove and Replace)
      • 1140 - Interior Door Handles
        • Handle - Interior Release - Door - Front - LH (Remove and Replace)
      • 1145 - Exterior Door Handles
        • Bezel - Exterior Door Handle - Front - LH (Remove and Replace)
        • Bezel - Exterior Door Handle - Rear - LH (Remove and Replace)
        • Handle Carrier - Exterior Release - Door - Front - LH (Remove & Replace)
        • Handle Carrier - Exterior Release - Door - Rear - LH (Remove and Replace)
      • 1150 - Door Glass and Regulators
        • Channel - Glass Run - Front - LH (Retrofit)
        • Door Glass - LH - Front - Adjust
        • Door Glass - LH - Front (Remove and Replace)
        • Door Glass - LH - Rear - Adjust
        • Door Glass - LH - Rear (Remove and Replace)
        • Door Glass - Rear - Upper - LH (Remove and Replace)
        • Fixed Glass - Front Door - LH (Remove and Replace)
        • Fixed Glass - Rear Door - LH (Remove and Replace)
        • Switch - Window Lift - Driver's (Remove and Replace)
        • Switch - Window Lift - Front Passenger's (Remove and Replace)
        • Switch - Window Lift - Rear - LH (Remove and Replace)
        • Window Motor/Regulator Assembly - Front - LH (Remove and Replace)
        • Window Motor/Regulator Assembly - Rear - LH (Remove and Replace)
        • Window Regulator - Front - LH - Recalibrate
        • Window Regulator - Rear - LH - Recalibrate
      • 1170 - Seals Body Enclosures
        • Closeout Panel - Door - Front - LH (Remove and Install)
        • Closeout Panel - Door - Front - LH (Remove and Replace)
        • Closeout Panel - Door - Rear - LH (Remove and Install)
        • Seal - Rear Door Cantrail - LH (Remove and Replace)
        • Seal - Door - Rear - Upper - LH (Remove and Replace)
        • Seal - Inner Belt - Front Door - LH (Remove and Replace)
        • Seal - Inner Belt - Rear Door - LH (Remove and Replace)
        • Seal - Liftgate (Remove and Replace)
        • Seal - Rear Door - LH (Remove and Replace)
        • Seal - Outer Belt - Front Door - LH (Remove and Replace)
        • Seal - Outer Belt - Rear Door - LH (Remove and Replace)
        • Seal - Primary - Front Door - LH (Remove and Replace)
        • Seal - Primary - Rear Door - LH (Adjust)
        • Seal - Primary - Rear Door - LH (Remove and Replace)
    • 12 - EXTERIOR FITTINGS
      • 1201 - Wheel Arch Liners
        • Wheel Arch Liner - Front - LH (Remove and Replace)
        • Wheel Arch Liner - Rear - LH (Remove and Replace)
      • 1203 - Undertray and Diffuser
        • Diffuser Panel - Rear (Remove and Replace)
        • Panel - Aero Shield - Front (Remove and Replace)
        • Panel - Aero Shield - Mid (Remove and Replace)
        • Panel - Aero Shield - Mid (Retrofit)
      • 1205 - Badges and Films
        • Badge - Ludicrous Speed (Retrofit)
        • Nose Badge - Front (Remove and Replace)
        • Rear Lettering (Remove and Replace)
      • 1207 - License Plate Mountings
        • Bracket - License Plate - Front (Remove and Replace)
        • Bracket - License Plate - Front (Retrofit)
      • 1209 - Exterior Mirrors
        • Door Mirror Assembly - LH (Remove and Replace)
        • Glass - Door Mirror - LH (Remove and Replace)
      • 1220 - Exterior Trim
        • Applique - B-Pillar - LH (Remove and Replace)
        • Applique - C-Pillar - LH (Remove and Replace)
        • Applique - Front Quarter - LH (Remove and Replace)
        • Applique - Liftgate (Remove and Replace)
        • Applique - Rear Door - Front - LH (Remove and Replace)
        • Applique - Roof - Front (Remove and Replace)
        • Applique - Roof - Rear (Remove and Replace)
        • Brightwork - Upper - Front - LH (Remove and Replace)
        • Brightwork - Upper - Rear - LH (Remove and Replace)
        • Carrier - Rocker Panel - LH (Remove and Replace)
        • Cladding - Door - Front - LH (Remove and Replace)
        • Cladding - Door - Rear - LH (Remove and Replace)
        • Cladding - Door - Rear - Wheel Arch - LH (Remove and Replace)
        • Garnish - Fender - Front - LH (Remove and Replace)
        • Garnish - Fender - Rear - LH (Remove and Replace)
        • Molding - Rocker Panel - LH (Remove and Replace)
        • Pad - Lifting - Each (Remove and Replace)
      • 1222 - Spoiler
        • Active Spoiler Assembly (Remove and Install)
        • Active Spoiler Assembly (Remove and Retrofit)
        • Wing - Upper - Active/Passive Spoiler (Remove & Install)
        • Wing - Upper - Active/Passive Spoiler (Remove & Replace)
        • Hinge - Active Spoiler - LH (Remove and Replace)
        • Wing - Lower - Active Spoiler (Remove and Replace)
        • Motor - Active Spoiler (Remove and Replace)
        • Wing - Lower - Passive Spoiler (Remove & Replace)
        • Stanchion - Active Spoiler - LH (Remove and Replace)
        • Stanchion - Passive Spoiler - LH (Remove and Replace)
        • Torque Rod - Active Spoiler - LH (Remove and Replace)
      • 1225 - Underhood Trim
        • Assembly - Underhood Apron - Front (Remove and Replace)
        • Hose - Drain - Cowl Screen (Remove and Replace)
        • Panel - Cowl Screen (Remove and Replace)
        • Underhood Apron - Center - Rear (Remove and Replace)
        • Underhood Apron - LH (Remove and Replace)
      • 1227 - Liftgate Trough Trim
        • Trim - Liftgate Trough - LH (Remove and Replace)
        • Trim - Liftgate Trough - Lower (Remove and Replace)
        • Trim - Liftgate Trough - Upper (Remove and Replace)
      • 1230 - Trailer Hitch
        • Cable Assembly – Light – Trailer (Remove and Replace)
        • Trailer Hitch (Remove and Replace)
    • 13 - SEATS
      • 1301 - Front Seat Tracks and Motors
        • Actuator - Headrest - Driver's (Remove and Replace)
        • Cable - Flex Drive - Long - Front Seat Motor (Remove and Replace)
        • Cable - Flex Drive - Short - Front Seat Motor (Remove and Replace)
        • Controller - Driver Seat (Remove and Replace)
        • Fan - Backrest - Driver Seat (Remove & Replace)
        • Fan - Cushion - Driver Seat (Remove & Replace)
        • Module - Seat Memory - Front Seat (Remove and Replace)
        • Motor - Seat Track - 1st Row - LH (Remove and Replace)
        • Riser - Driver's Seat - Outer (Remove and Replace)
        • Riser - Front Seats - Inner (Remove and Replace)
        • Seat Track Assembly - 1st Row - LH (Remove and Replace)
        • Switch - Adjust - Driver's Seat (Remove and Replace)
      • 1302 - 2nd Row Seat Tracks and Motors
        • 60/40 Seat Switch - 2nd Row - LH (Remove & Replace)
        • Actuator - EZ Entry - 40 Track - 2nd Row Seat (7 Seat) (Remove and Replace)
        • Actuator - Recline Release - Easy Entry - 2nd Row - LH (Remove & Replace)
        • Actuator - Track Release - Easy Entry - 2nd Row - LH (Remove and Replace)
        • Bracket - Microswitch - Easy Entry - 2nd Row - LH (With 2nd Row Bench Seats) (Remove and Replace)
        • Drive Shaft - 2nd Row Seat Motor - LH (Remove and Replace)
        • Microswitch - Easy Entry - 2nd Row - LH (With 2nd Row Bench Seats) (Remove and Replace)
        • Module - 2nd Row Seat Controller - LH (Remove and Replace)
        • Motor - Pitch - 2nd Row - LH (Remove and Replace)
        • Motor - Seat Track - 2nd Row - LH (Remove and Replace)
        • Nut Plate - 2nd Row Seat - Front (Remove and Replace)
        • Nut Plate - 2nd Row Seat - Rear (Remove and Replace)
        • Pitch Mechanism - 2nd Row Seat - LH (Remove and Replace)
        • Release Cable - Easy Entry - 2nd Row - RH (Remove & Replace)
        • Sensor - Position - Seat Track - 2nd Row Seat - LH (Monopost) (Remove & Replace)
        • Switch - 2nd Row - LH (Remove and Replace)
        • Switch - 2nd Row Seat - Center (Remove and Replace)
        • Switch - Easy Entry - 2nd Row Seat - LH (Remove and Replace)
        • Track - Inner - 2nd Row Seat - LH (Remove and Replace)
        • Track - Outer - 2nd Row Seat - LH (Remove and Replace)
      • 1303 - 3rd Row Seat Tracks and Motors
        • Actuator - Headrest - 3rd Row Seat - LH (Remove and Replace)
        • Actuator - Recliner - 3rd Row Seat - LH (Remove and Replace)
        • Actuator Pulley - Recliner - 3rd Row Seat (Remove and Replace)
        • Cable - Recliner - 3rd Row Seat - LH (Remove and Replace)
        • Switch - Recliner - 3rd Row Seat - LH (Remove and Replace)
      • 1304 - Front Seat Assemblies and Hardware
        • Base Assembly - Driver Seat (Remove and Replace)
        • Seat Assembly - 1st Row - LH (Remove and Install)
        • Seat Assembly - 1st Row - LH (Remove and Replace)
        • Seat Assembly - 1st Row - RH (Remove and Replace)
        • Trim - Headrest - Driver's (Remove and Replace)
      • 1305 - 2nd Row Seat Assemblies and Hardware
        • Latch Actuator - 2nd Row Seat - LH (Remove and Replace)
        • Recliner Cable - 2nd Row - LH (With 2nd Row Bench Seats) (Adjust)
        • Recliner Cable - 2nd Row - LH (With 2nd Row Bench Seats) (Remove and Replace)
        • Recliner Cable - 2nd Row - RH (With 2nd Row Bench Seats) (Remove and Replace)
        • Seat Assembly - 2nd Row - Center (Remove and Install)
        • Seat Assembly - 2nd Row - Center (Remove and Replace)
        • Seat Assembly - 2nd Row - LH (With 2nd Row Bench Seats) (Remove and Install)
        • Seat Assembly - 2nd Row - LH (With Broken Seat Track Motor) (Remove and Install)
        • Seat Assembly - 2nd Row - LH (Without 2nd Row Bench Seats) (Remove and Install)
        • Seat Assembly - 2nd Row - LH (Without 2nd Row Bench Seats) (Remove and Replace)
        • Seat Assembly - 2nd Row - RH (With 2nd Row Bench Seats) (Remove and Install)
      • 1306 - 3rd Row Seat Assemblies and Hardware
        • Luggage Hook Tie Down - 3rd Row Seat Back - LH (Remove and Replace)
        • Seat Assembly - 3rd Row (Remove and Replace)
        • Seat Back Carpet - 3rd Row - LH (Remove and Replace)
      • 1307 - Front Seat Covers, Pads, and Trims
        • Cover - Back Rest - Driver's Seat (Remove & Replace)
        • Cover - Back Rest - Driver Seat (Model 3 Seat) (Remove and Replace)
        • Cover - Outer Side - Driver's Seat (Remove and Install)
        • Cover - Outer Side - Driver's Seat (Remove and Replace)
        • Cover - Seat Back - Driver's (Remove and Replace)
        • Foam - Back Rest - Driver Seat (Model 3 Seat) (Remove and Replace)
        • Foam - Cushion - Driver Seat (Model 3 Seat) (Remove and Replace)
        • Foam and Trim - Cushion - Driver's Seat (Remove and Replace)
      • 1308 - 2nd Row Seat Covers Pads and Trims
        • Cover - Seat Back - 2nd Row - LH (Without 2nd Row Bench Seats) (Remove and Replace)
        • Back Board – Seat Back – 2nd Row – LH (Bench Seat)
        • Back Board – Seat Back – 2nd Row – RH (Bench Seat)
        • Release Handle - Seat Track - 2nd Row - LH (Remove and Replace)
        • Trim - Back Rest - 2nd Row - LH (Bench Seat) (Remove and Replace)
        • Trim - Back Rest - 2nd Row - RH (Bench Seat) (Remove and Replace)
        • Trim - Cushion - 2nd Row - LH (Bench Seat) (Remove and Replace)
        • Trim - Cushion - 2nd Row - RH (Bench Seat) (Remove and Replace)
      • 1309 - 3rd Row Seat Covers Pads and Trims
        • Cup Holder - 3rd Row Seat (Remove and Replace)
    • 14 - INSTRUMENT PANELS AND PEDALS
      • 1405 - Instrument Panel
        • Assembly - Bin - Storage Center Compartment (Remove and Replace)
        • Assembly - Cover - Footwell - Driver's (Remove and Replace)
        • Assembly - Cover - Footwell - Driver's (RHD) (Remove and Replace)
        • Assembly - Cover - Footwell - Passenger's (Remove and Replace)
        • Assembly - Cover - Footwell - Passenger's (RHD) (Remove and Replace)
        • Assembly - Finisher - Instrument Panel - LH (Remove and Replace)
        • Assembly - Finisher - Instrument Panel - RH (Remove and Install)
        • Assembly - Finisher - Instrument Panel - RH (Remove and Replace)
        • Assembly - Frame - Instrument Cluster (Remove and Replace)
        • Assembly - Instrument Panel Lower - RH (Remove and Replace)
        • Assembly - Instrument Panel Side Cover - LH (Remove and Replace)
        • Assembly - Mesh Grille - Defrost (Remove and Replace)
        • Assembly - Top Pad - Instrument Panel (Remove and Install)
        • Assembly - Top Pad - Instrument Panel (Remove and Replace)
        • Cross Car Beam (Remove and Replace)
        • Face Level Vent - Driver's - Inner (Remove and Replace)
        • Face Level Vent - Driver's - Outer (Remove and Replace)
        • Face Level Vent - Front Passenger's - Inner (Remove and Replace)
        • Face Level Vent - Front Passenger's - Outer (Remove and Replace)
        • Glove Box (Remove and Replace)
        • IP Carrier (Remove and Replace)
        • Trim - Dash - Driver's Side - Inner to Bezel (Remove and Replace)
        • Trim - Dash - Driver's Side - Lower (Remove and Replace)
        • Trim - Touchscreen Surround (Remove and Replace)
    • 15 - INTERIOR TRIM
      • 1505 - Interior Mirror and Sun Visors
        • Glare Shield - 2nd Generation Autopilot (Remove and Replace)
        • Rear View Mirror (Remove and Replace)
        • Sun Visor - LH (Remove and Replace)
      • 1511 - Liftgate Trim
        • Grille - Speaker - Liftgate (Remove and Replace)
        • Trim - Liftgate - Lower (Remove and Replace)
        • Trim - Liftgate - Middle (Remove and Replace)
        • Trim - Liftgate - Side - LH (Remove and Replace)
        • Trim - Liftgate - Upper (Remove and Replace)
      • 1513 - Door Trim
        • Bracket - Rear Door Trim - Center - LH (Remove and Replace)
        • Bracket - Rear Door Trim - Upper - Front - LH (Remove and Replace)
        • Bracket - Rear Door Trim - Upper - Rear - LH (Remove and Replace)
        • Gap Hider - Door Trim - LH - Rear - Mid (Remove and Replace)
        • Garnish - Door Trim - LH - Rear - Lower (Remove and Replace)
        • Grille - Speaker - Rear - LH (Remove and Replace)
        • Panel - Door Trim - Front - LH (Remove and Install)
        • Panel - Door Trim - Front - LH (Remove and Replace)
        • Panel - Door Trim - Rear - LH (Remove and Install)
        • Panel - Door Trim - Rear - LH (Remove and Replace)
        • Panel - Door Trim - Rear - Upper - LH (Remove and Replace)
        • Sensor - Ultrasonic - Interior - Rear Door - LH (Remove and Replace)
      • 1518 - Pillar and Sill Trim
        • Bracket - C-Pillar - Lower Zone - LH (Remove and Replace)
        • Bracket - C-Pillar - Mid Zone - LH (Remove and Replace)
        • Magnet - A-Pillar - Sun Visor Bezel - LH (Remove and Replace)
        • Racetrack Trim - Front - LH (Remove and Replace)
        • Racetrack Trim - Lower - LH (Remove and Replace)
        • Racetrack Trim - Rear - LH (Remove and Replace)
        • Racetrack Trim - Upper - LH (Remove and Replace)
        • Support - Parcel Shelf - LH (Remove and Replace)
        • Trim - A-Pillar - Lower - LH (Remove and Replace)
        • Trim - A-Pillar - Sun Visor Bezel - LH (Remove and Replace)
        • Trim - A-Pillar - Upper - LH (Remove and Install)
        • Trim - A-Pillar - Upper - LH (Remove and Replace)
        • Trim - B-Pillar - Lower - LH (Remove and Replace)
        • Trim - B-Pillar - Upper - LH (Remove and Replace)
        • Trim - C-Pillar - Lower - LH (Remove and Replace)
        • Trim - C-Pillar - Mid - LH (Remove and Replace)
        • Trim - C-Pillar - Upper - LH (Remove and Replace)
        • Trim - Sill Panel - Front - LH (Remove and Replace)
        • Trim - Sill Panel - Rear - LH (Remove and Replace)
        • Welcome Plate - LH (Remove and Replace)
      • 1519 - Center Console - 1st Row
        • Air Outlet - Center Console (Remove and Replace)
        • Armrest Pads - Center Console - 1st Row (Remove and Replace)
        • Base - Armrest - Center Console (Remove and Install)
        • Base - Armrest - Center Console (Remove and Replace)
        • Center Console Assembly (Remove and Install)
        • Closeout Extension - Center Console - LH (Remove and Replace)
        • Cup Holder - 2nd Row (Remove and Replace)
        • Premium Console Sub-assembly (Remove and Replace)
        • Trim - Armrest - Center Console (Remove and Replace)
        • Trim - Center Console - Front (Remove and Replace)
        • Trim - Center Console - Rear (Remove and Replace)
        • Trim - Center Console - Side - LH (Remove and Replace)
        • USB Hub - Center Console (Remove and Replace)
      • 1535 - Center Console - 2nd Row
        • Center Console - 2nd Row (Remove and Replace)
        • Center Console - 2nd Row (Retrofit)
        • Decor - Center Console - 2nd Row (Remove and Replace)
        • Front Panel - Center Console - 2nd Row (Remove and Replace)
        • Keystone Panel - Center Console - 2nd Row (Remove and Replace)
      • 1520 - Headliner
        • Headliner (Remove and Replace)
      • 1524 - Luggage Compartment Trim
        • Carpet - Trunk Floor (Remove and Replace)
        • Crossmember - Front Trunk (Remove and Replace)
        • Garnish - Rear Trunk - Side - LH (Remove and Replace)
        • Light - Underhood Storage Area - LH (Remove and Replace)
        • Trim - Rear Trunk - Rear Wall (Remove and Replace)
        • Trim - Rear Trunk - Side - LH (Remove and Replace)
        • Trim - Rear Trunk - Sill (Remove and Replace)
        • Underhood Storage Unit (Remove and Replace)
      • 1530 - Carpeting and Mats
        • Carpet - 1st Row (Remove and Replace)
        • Carpet - Underhood Storage (Remove and Install)
        • Carpet Assembly - Sliding - LH (Remove and Replace)
        • Floor Panel - 1st Row (Remove and Replace)
        • Floor Panel - 2nd Row - Front (Remove and Replace)
        • Floor Panel - 2nd Row - Middle (Remove and Replace)
        • Insulator - Wheelhouse - Rear - LH (Remove and Replace)
        • Absorber - Wheelhouse - Rear - RH (Remove & Replace)
        • Insulator - Motor Bay - Rear (5 Seat) (Remove & Replace)
        • Insulator - Motor Bay - Rear (7 Seat) (Remove & Replace)
        • Floor Panel - 2nd Row - Middle (Repair)
        • Floor Panel - 2nd Row - Rear (Remove and Replace)
        • Floor Panel - 2nd Row - Rear (Repair)
        • Bracket - 2nd Row Floor Panel - LH (Without 2nd Row Bench Seats)
        • Bracket - 2nd Row Floor Panel - Center (Without 2nd Row Bench Seats)
    • 16 - BATTERY SYSTEM
      • 1601 - HV Battery Assembly
        • Aeroshield Support Tab - HV Battery 1.0/1.5 (Remove and Replace)
        • Aeroshield Support Tab - HV Battery 2.0 (Remove and Replace)
        • HV Battery (AWD) (Remove and Install)
        • HV Battery (AWD) (Remove and Replace)
        • HV Battery Blanket (Remove and Replace)
        • HV Battery Coolant - Drain and Refill
      • 1610 - HV Battery Enclosure
        • Baffle - Front - HV Battery (Rework)
        • Cover - Pyrotechnic Fuse - HV Battery 1.0/1.5 (Inspect)
        • Cover - Pyrotechnic Fuse - HV Battery 2.0 (Inspect)
        • Cover - Pyrotechnic Fuse - HV Battery 1.0/1.5 (Remove and Replace)
        • Cover - Pyrotechnic Fuse - HV Battery 2.0 (Remove and Replace)
        • HV Battery Air Leak Test
        • Mud Flaps - HV Battery (Retrofit)
        • Ski - Side Rail - HV Battery - LH (Remove and Replace)
        • Umbrella Valves - HV Battery (Remove and Replace)
      • 1630 - HV Battery Electrical Components
        • BMS PCBA - High Voltage Battery Assembly (HV Battery 2.0) (Remove & Replace)
        • BMS Standoff - High Voltage Battery Assembly (Repair)
        • Fuse - Pyrotechnic - HV Battery 1.0/1.5 (Remove and Install)
        • Fuse - Pyrotechnic - HV Battery 1.0/1.5 (Remove and Replace)
        • Fuse - Pyrotechnic - HV Battery 2.0 (Remove and Install)
        • Fuse - Pyrotechnic - HV Battery 2.0 (Remove and Replace)
        • HV/LV Ancillary Unit (HV Battery 2.0) (Remove and Replace)
        • Rapid Mate - Low Voltage - HV Battery 2.0 (Remove and Replace)
        • Resistance Meter (Zero Adjust)
    • 17 - ELECTRICAL
      • 1701 - 12V Battery and Fuses
        • Battery - Auxiliary - 12V (Remove and Replace)
        • Cage - Battery - Auxiliary - 12V (Remove and Replace)
        • Disconnect 12V Power
        • E-Fuse Module (Remove and Replace)
        • Fuse Box - Cabin - Front (Remove and Replace)
        • Fuse Box - Underhood (Remove and Replace)
        • Fuse Box - Underhood (Rework)
        • Inline Fuse (175A) (Remove and Replace)
        • Negative Cable - 12V Power (Remove and Replace)
        • Vehicle HV Disablement Procedure
      • 1710 - Harnesses
        • Harness - Body (Remove and Replace) (LHD)
        • MX Electrical - Harnesses - Main and Front Body Harnesses - Main Body Harness RHD (RR)
        • Harness - Center Console (Remove and Replace)
        • Harness - Damper - Air Suspension - Front - LH (Remove and Replace)
        • Harness - Door - Front - LH (Remove and Replace)
        • Harness - Fascia - Front (Remove and Replace)
        • Harness - Instrument Panel (Remove and Replace)
        • Harness - Main Front (Remove & Replace)
        • Harness - Rear Fascia (Remove & Replace)
        • Harness - Seat Assembly - 2nd Row - LH - (With 2nd Row Bench Seat) (Remove & Replace)
        • Harness - Subframe - Rear (Remove and Replace)
      • 1715 - Electronic Control Modules
        • ECU Box (Remove and Install)
        • Gaskets - Antistatic - Autopilot ECU (Install)
        • Module - Autopilot - ECU (Dispose)
        • Module - Autopilot - ECU - 1st Generation (Remove and Replace)
        • Module - Autopilot - ECU - 2nd and 3rd Generation (Remove and Replace)
        • Module - Autopilot - ECU - 2nd Generation (RHD) (Remove and Replace)
        • Module - Central Body Controller - BCCEN (Remove and Replace)
        • Module - Front Body Controller - BCM (Remove and Replace)
        • Module - HomeLink Transmitter (Remove and Replace)
        • Module - Intrusion Sensor (Remove and Replace)
        • Module - Rear Body Controller - BCM (Remove and Replace)
      • 1720 - Radar Sensor
        • Bracket - Radar - Front (DAS 1/2) (Remove and Replace)
        • Bracket - Radar - Front (DAS 2.5) (Remove and Replace)
        • Calibration - Front Radar Sensor
        • Sensor - Radar - Center - Front (Remove and Replace)
      • 1723 - Front Cameras
        • Camera - Triple - Forward Facing (Remove and Replace)
        • Drive Cycle Calibration - Forward Facing Camera
        • Image Capture - Forward Facing Camera
        • Camera - Forward Facing (Pitch Verification)
        • Target Calibration - Forward Facing Camera
        • Triple Camera Pitch Adjustment - Forward Facing - 2nd Generation Autopilot (Retrofit)
      • 1725 - Rear Camera
        • Camera - Rear View (Remove and Replace)
      • 1726 - B-Pillar Cameras
        • Camera - B-Pillar (Remove and Replace)
      • 1727 - Parking Sensors
        • Module - Park Assist (Remove and Replace)
        • Retainer - Sensor - Parking Distance (Remove and Replace)
        • Sensor - Parking Distance - S1/S6 - Front (Remove and Replace)
        • Sensor - Parking Distance - S2/S5 - Front (Remove and Replace)
        • Sensor - Parking Distance - S3/S4 - Front (Remove and Replace)
        • Sensor - Parking Distance - Inner - Rear (Remove and Replace)
        • Sensor - Parking Distance - Outer - Rear (Remove and Replace)
      • 1730 - Interior Switches and Aux Power Socket
        • Power Socket 12V - Center Console (Remove and Replace)
        • Switch - Glove Box (Remove and Replace)
        • Switches - Steering Wheel (Remove and Replace)
        • Assembly - Switches/Harness - Steering Wheel (Remove and Replace)
        • USB Port - 3rd Row Seat (Remove and Replace)
      • 1735 - Interior Lighting
        • Light - Map - Front (Remove and Replace)
        • Puddle Light - Front Seat - LH (Remove and Replace)
        • Puddle Light - Liftgate (Remove & Replace)
        • Puddle Light - Rear Trunk (Remove and Replace)
        • Task Light - Footwell Cover - LH (Remove & Replace)
        • Welcome Light - Rear Door - LH (Remove and Replace)
      • 1740 - Exterior Lights
        • Bracket - Headlight - Inner - LH (Remove and Replace)
        • Bracket - Headlight - Outer - LH (Remove and Replace)
        • Bracket - Headlight Support - LH (Remove and Replace)
        • Coax Cable - Side Repeater - Front - LH (Replace)
        • Coax Cable - Side Repeater - Front - RH (Replace)
        • Headlights (Adjust), Europe (ECE)
        • Headlights (Adjust), North America (SAE)
        • Headlight Assembly - LH (Remove and Replace)
        • Headlight Assembly - LH (Remove and Install)
        • Lamp - Brake - High Mounted (Remove and Replace)
        • Lamp - Side Repeater - Front - LH
        • Lamp and Camera Assembly - Side Repeater - Front - LH (Remove and Replace)
        • Lights - Fog - Front (Adjust)
        • Light - Fog - Front - LH (Remove and Replace)
        • Light - Fog/Reverse - Rear - LH (Remove and Replace)
        • Light - License Plate (Remove and Replace)
        • Light - Reflex - Rear - LH (Remove and Replace)
        • Switch - Hazard Warning (Remove and Replace)
        • Taillight Assembly - LH (Remove and Install)
        • Taillight Assembly - LH (Remove and Replace)
        • Taillight Assembly - RH (Remove and Replace)
      • 1745 - Keyless Entry and Security
        • Antenna - Passive Entry - Center Console (Remove and Replace)
        • Antenna - Passive Entry - Front (Remove and Replace)
        • Antenna - Passive Entry - Rear (Remove and Replace)
        • Antenna - Passive Entry - Rocker - LH (Remove and Replace)
        • Key Fob - Program
        • Key Fob - Unpair
        • Siren - Battery Backed (Remove and Replace)
      • 1750 - Wipers and Washers
        • Pump - Windshield Washer Reservoir (Remove and Replace)
        • Reservoir Assembly - Windshield Washer (Remove and Replace)
        • Sensor - Level - Windshield Washer Reservoir (Remove and Replace)
        • Wiper Arm - LH (Remove and Replace)
        • Wiper Blades - Adjust
        • Wiper Blades - Pair (Remove and Replace)
        • Wiper Module (LHD) (Remove and Replace)
        • Wiper Module (RHD) (Remove and Replace)
      • 1753 - Horn
        • Horn - Tone - Pair (Remove and Replace)
      • 1755 - Accelerator Pedal
        • Accelerator (Remove and Replace)
      • 1757 - Pyrotechnic Battery Disconnect
        • Pyrotechnic Battery Disconnect (Remove and Replace)
    • 18 - THERMAL MANAGEMENT
      • 1810 - Cabin HVAC
        • Actuator - Inlet (Remove and Replace)
        • Actuator - Driver's Temperature (Remove and Replace)
        • Actuator - Front Passenger's Temperature (Remove and Replace)
        • Actuator - Mode (Remove and Replace)
        • Actuator - Defrost (Remove and Replace)
        • Duct - HEPA Filter (Remove and Replace)
        • Filter - Cabin (Remove and Replace)
        • Filter - HEPA (Remove and Replace)
        • Heater - Front PTC (Remove and Replace)
        • Heater - Rear PTC (Remove and Replace)
        • Hose - Drain - Front HVAC (Remove and Replace)
        • Hose - Drain - Rear HVAC (Remove and Replace)
        • Housing - Filter (Remove and Replace)
        • HVAC Assembly - Front (Remove and Replace)
        • HVAC Assembly - Rear (Remove and Replace)
        • Module - HVAC Controller - RCCM (Remove and Replace)
        • Module - Thermal Controller (Remove and Replace)
        • Blower Motor - Front HVAC (Remove and Replace)
        • Motor - Fan Assembly - Rear HVAC (Remove and Replace)
        • Sensor - Air Quality (Remove and Replace)
        • Sensor - Ambient Air Temperature (Remove and Replace)
        • Sensor - Temperature - Cabin - LH (Remove and Replace)
        • Sensor - Temperature - Evaporator (Remove and Replace)
        • Sensor - Temperature - Evaporator - Rear (Remove and Replace)
        • Vehicle Sanitation - Interior Air - Tunap 589 (EMEA)
        • Vehicle Sanitation - Evaporator - Tunap 994 (EMEA)
      • 1820 - Refrigerant System
        • A/C Line - Suction Liquid Jumper (Remove and Replace)
        • A/C line - Suction Liquid - TXV (RHD) (Remove and Replace)
        • A/C Refrigerant Flush Due To Compressor Failure (Dual HVAC) (Europe)
        • A/C Refrigerant Flush Due To Compressor Failure (Dual HVAC) (NA)
        • A/C Refrigerant Flush Due To Compressor Failure (Standard HVAC) (NA)
        • A/C Refrigerant Leak Detection
        • A/C Refrigerant Recovery and Recharge (Remove and Replace)
        • Battery Chiller and EXV Assembly (Remove and Replace)
        • Chiller and EXV Assembly (Remove and Replace)
        • Compressor (Remove and Replace)
        • Condenser (Remove and Replace)
        • Cooling Fan Module (Remove and Install)
        • Evaporator (Remove and Replace)
        • Fan - Condenser (Remove and Replace)
        • Mounting - Air Conditioning Compressor (Remove and Replace)
        • Pipes - High/Low Pressure - Charge Port (Remove and Replace)
        • Pipes - High/Low Pressure - Charge Port to Rocker (Remove and Replace)
        • Pipes - High/Low Pressure - Condenser to Chiller (Remove and Replace)
        • Pipes - High/Low Pressure - Rocker (Remove and Replace)
        • Pipes - High/Low Pressure - Rocker to Rear HVAC (Remove and Replace)
        • Pipe - High Pressure - Compressor to Condenser (Remove and Replace)
        • Receiver Dryer and Desiccant (Remove and Replace)
        • TXV Valve - Evaporator - Front (Remove and Replace)
        • TXV Valve - Evaporator - Rear (Remove and Replace)
        • Sensor - Pressure and Temperature - High Pressure (Remove and Replace)
        • Sensor - Pressure and Temperature - Low Pressure (Remove and Replace)
        • Use Evaporator Foam Cleaner, Replace Cabin Filters
        • Use HVAC Cleaning Machine
      • 1830 - Cooling System
        • 3 Way Coolant Valve - Radiator Bypass (Remove and Replace)
        • 4 Way Coolant Valve - Series/Parallel (Remove and Replace)
        • Battery Coolant Pump 1 (1st Generation) (Remove and Replace)
        • Battery Coolant Pump 1 (2nd Generation) (Remove and Replace)
        • Battery Coolant Pump 2 (Remove and Replace)
        • Bracket - Battery Coolant Pump 1 (2nd Generation) (Remove and Replace)
        • Clean Radiator
        • Coolant Heater - Electric - Battery (Remove and Replace)
        • Coolant Heater - Electric - Battery (RHD) (Remove and Replace)
        • Coolant Rapid Mate - Vehicle Side (Remove and Replace)
        • Coolant Rapid Mate - Vehicle Side (HV Battery Already Removed) (Remove and Replace)
        • Coolant System - Check and Fill
        • Cooling System - Drain and Refill
        • Cooling System - Partial Refill and Bleed
        • Cooling System - Vacuum Refill
        • Cooling System - Thermal Test
        • Clean Radiator
        • Hose - 4-Way Valve to Chiller (2nd Generation) (Remove and Replace)
        • Hose - Battery Coolant Pump 1 to Battery Coolant Pump 2 (2nd Generation) (Remove and Replace)
        • Hose - Battery Coolant Pump 1 to Chiller (2nd Generation) (Remove and Replace)
        • Hose - Inlet - Front Drive Unit (Remove & Replace)
        • Hose - Inlet - Small Rear Drive Unit (Remove & Replace)
        • Hose - Outlet - Small Rear Drive Unit (Remove & Replace)
        • Powertrain Coolant Pump 1 (Remove and Replace)
        • Powertrain Coolant Pump 2 (Remove and Replace)
        • Radiator (Remove and Replace)
        • Sensor - Coolant Level - Cooling System (Remove and Replace)
        • Reservoir Assembly - Coolant (Remove and Replace)
      • 1850 - Air Distribution
        • Active Louver - Center (Remove and Replace)
        • Duct - Fascia - HVAC (Remove and Replace)
    • 20 - SAFETY AND RESTRAINT
      • Air Bag and Supplementary Restraint System (SRS) Precautions
      • 2001 - Air Bags
        • Air Bag - Driver's (Remove and Replace)
        • Air Bag - Front Passenger's (Remove and Replace)
        • Curtain Air Bag - Driver's (Remove and Replace)
        • Curtain Air Bag - 2nd Row - LH (Remove and Replace)
        • Knee Air Bag - Driver's (Remove and Replace)
        • Knee Air Bag - Front Passenger's (Remove and Replace)
        • Module - Restraint Control - RCM (Remove and Replace)
        • Remove the Front Seat Airbag and Discard
      • 2005 - Seat Belts
        • Buckle Assembly - 1st Row - LH (Remove and Replace)
        • Buckle Assembly - 2nd Row - Center (With 2nd Row Bench Seats) (Remove and Replace)
        • Buckle Assembly - 2nd Row - Center (Without 2nd Row Bench Seats) (Remove and Replace)
        • Buckle Assembly - 2nd Row - LH (With 2nd Row Bench Seats) (Remove and Replace)
        • Buckle Assembly - 2nd Row - LH (Without 2nd Row Bench Seats) (Remove and Replace)
        • Buckle Assembly - 3rd Row (Remove and Replace)
        • Retractor - Seatbelt - 1st Row - LH (Remove and Replace)
        • Retractor - Seatbelt - 2nd Row - Center (Bench Seat) (Remove and Replace)
        • Retractor - Seatbelt - 2nd Row - LH (Bench Seat) (Remove and Replace)
        • Retractor - Seatbelt - 2nd Row - RH (Bench Seat) (Remove and Replace)
        • Retractor - Seatbelt - 3rd Row - LH (Remove and Replace)
        • Seat Belt Assembly - 2nd Row - Center (Remove and Replace) (Without 2nd Row Bench Seats)
        • Seat Belt Assembly - 2nd Row - LH (Without 2nd Row Bench Seats) (Remove and Replace)
      • 2010 - Pre-Tensioners
        • Pre-Tensioner - Outboard Lap - 1st Row - LH (Remove and Replace)
      • 2020 - Sensors
        • Seatbelt Reminder - 3rd Row - LH (Remove and Replace)
        • Sensor - Airbag - B-Pillar (Remove and Replace)
        • Sensor - Airbag - C-Pillar (Remove and Replace)
        • Sensor - Airbag - D-Pillar (Remove and Replace)
        • Sensor - Airbag - Door - Front (Remove and Replace)
        • Sensor - Occupant Classification - Front Passenger’s Seat - Calibration
        • Sensor - Resistive Occupancy - Front Seat - LH (Model 3 Seat) (Remove & Replace)
      • 2030 - Pedestrian Protection System
        • Actuator - Pedestrian Protection - LH (Remove and Replace)
    • 21 - INFOTAINMENT
      • 2105 - Displays
        • Display - Instrument Cluster (Tegra) (Remove and Replace)
        • Instrument Cluster (Remove and Replace)
      • 2106 - Media Control Unit
        • Media Control Unit (Dispose)
        • Media Control Unit (Remove and Install)
        • Media Control Unit (Remove and Replace)
        • Navigation Micro SD Card - Media Control Unit (Remove and Replace)
        • Gateway SD Card - Media Control Unit (Remove and Replace)
        • SIM Card - With SIM Extender (Remove and Replace)
        • SIM Card (Intel based MCU without SIM extender) (Remove and Replace)
      • 2121 - Audio System - Speakers, Subwoofer, Amplifier
        • Chime - Liftgate (Remove and Replace)
        • Chime - Rear Door - LH (Remove and Replace)
        • Premium Boost Amplifier (Remove and Replace)
        • Speaker - Dash - Center (Remove and Replace)
        • Speaker - Dash - LH (Premium Only) (Remove and Replace)
        • Speaker - Front Door - LH (Remove and Replace)
        • Speaker - Liftgate - LH (Remove and Replace)
        • Speaker - Rear Door - LH (Remove and Replace)
        • Subwoofer Assembly (Remove and Replace)
        • Tweeter - A Pillar - LH (Remove and Replace)
        • Tweeter - Dash (Remove and Replace)
        • Tweeter - Liftgate - LH (Remove and Replace)
        • Tweeter - Rear Door - LH (Remove and Replace)
      • 2122 - Audio System - AM, FM, and HD Radio
        • Tuner - Radio (Remove and Replace)
        • Tuner - Radio (RHD) (Remove and Replace)
      • 2125 - Audio System - Bluetooth
        • Antenna - Bluetooth (Remove and Replace)
        • Microphone - LH (Remove and Replace)
      • 2126 - Audio System - USB Media Port
        • Dock Connector - Telephone - USB - Center Console (Remove and Replace)
      • 2130 - Antenna - AM, FM, and HD Radio
        • Antenna - FM2 and Defrost Grid (Remove and Replace)
        • Antenna - RF Filter - LH (Remove and Replace)
        • Antenna Amplifier - AM/FM and RKE (Remove and Replace)
        • Antenna Amplifier - FM2 (Remove and Replace)
      • 2131 - Antenna - Satellite Radio
        • Antenna - Satellite Radio (Remove and Replace)
      • 2132 - Antenna - GPS
        • Antenna - GPS (Remove and Replace)
      • 2133 - Antenna - Wi-Fi
        • Antenna - WiFi (Remove and Replace)
      • 2135 - Antenna - GSM
        • Antenna - GSM - LH (Remove and Replace)
    • 30 - CHASSIS
      • 3001 - Chassis and Subframes
        • Bash Plate - Front - Extrusion (Remove and Replace)
        • Skid Bar - Front Subframe (Remove and Replace)
        • Skidplate - Front (Remove and Replace)
        • Skidplate - Rear (Remove and Replace)
        • Subframe Assembly - Front - 1st Generation (Remove and Install)
        • Subframe Assembly - Front - 1st Generation (Remove and Replace)
        • Subframe Assembly - Front - 2nd Generation (LHD) (Remove and Install)
        • Subframe Assembly - Front - 2nd Generation (LHD) (Remove and Replace)
        • Subframe Assembly - Front - 2nd Generation (RHD) (Remove and Install)
        • Subframe Assembly - Front - 2nd Generation (RHD) (Remove and Replace)
        • Subframe Assembly - Rear (Remove and Install)
        • Subframe Assembly - Rear (Remove and Replace)
    • 31 - SUSPENSION
      • Alignment Requirement - Suspension
      • 3100 - Adjustment
        • Four Wheel Alignment Check
        • Four Wheel Alignment Check and Adjust
        • Ride Height - Adjust
      • 3101 - Front Suspension (including Hubs)
        • Control Arm - Upper - Front - LH (Remove and Replace)
        • Control Arm - Upper - Front - RH (Remove and Replace)
        • Hub - Front - LH (Remove and Replace)
        • Knuckle - Suspension - Front - LH (Remove and Replace)
        • Link - Fore - Lower - Front - LH (Remove and Replace)
        • Links - Fore - Lower - Front - LH/RH (Remove and Replace)
        • Link - Aft - Lower - LH (Remove and Replace)
        • Links - Aft - Lower - LH/RH (Remove and Replace)
        • Links - Front Suspension - Lower - Fore and Aft - LH/RH (Remove & Replace)
        • Link - Stabilizer Bar - Front - LH (Remove and Replace)
        • Stabilizer Bar - Front (Remove and Replace)
        • Suspension - Front - Check Torque
      • 3103 - Rear Suspension (including Hubs)
        • Control Arm Assembly - Rear - Lower - LH (Remove and Replace)
        • Drop Link - Stabilizer Bar - Rear - LH (Remove and Replace)
        • Hub - Rear - LH (Remove and Replace)
        • Hub - Rear - LH (Adaptive Suspension) (Remove and Replace)
        • Integral Link - Rear - LH (Remove and Replace)
        • Knuckle - Suspension - Rear - LH (Remove and Replace)
        • Link - Suspension - Rear - Upper - LH (Remove and Replace)
        • Stabilizer Bar - Rear (Remove and Replace)
        • Suspension - Rear - Check Torque
        • Toe Link Assembly - Rear - LH (Remove and Replace)
      • 3110 - Air Suspension System
        • Air Dryer - Tesla Air Suspension (Regenerate)
        • Air Line - Air Suspension - Compressor to Valve Block (Remove and Replace)
        • Air Line - Air Suspension - Valve Block Exhaust (Remove and Replace)
        • Adaptive Air Spring Module - Front - LH (Remove and Replace)
        • Adaptive Air Spring Module - Rear - LH (Remove and Replace)
        • Air Spring Module - Front - LH (Remove and Replace)
        • Air Spring Module - Front - RH (Remove and Replace)
        • Air Spring Module - Rear - LH (Remove and Replace)
        • Air Spring Module - Rear - RH (Remove and Replace)
        • Air Suspension - Pressurize/Depressurize - Full System
        • Air Suspension - Pressurize/Depressurize - One Air Spring
        • Air Suspension Lines - Front (Remove and Replace)
        • Air Suspension Lines - Rear (Remove and Replace)
        • Compressor - Air Suspension (Remove and Replace)
        • Fill Valve - Air (Retrofit)
        • Line - Air Suspension (Repair)
        • Module - Air Suspension - ECU (Remove and Replace)
        • Reservoir - Air Suspension (Remove and Replace)
        • Sensor - Ride Height - Front - LH (Remove and Replace)
        • Sensor - Ride Height - Rear - LH (Remove and Replace)
        • Valve Block - Air Suspension (Remove and Replace)
    • 32 - STEERING
      • 3201 - Steering Rack and Lower Column
        • Seal - Steering - Dash (Remove and Replace)
        • Intermediate Shaft - Steering Column - Lower (Remove and Replace)
        • Shaft - Steering Column - Intermediate Upper (Remove and Replace)
        • Shaft - Steering Column - Intermediate Upper (RHD) (Remove and Replace)
        • Steering Rack (LHD) (1st Generation) (Remove and Replace)
        • Steering Rack (LHD) (2nd Generation) (Remove and Replace)
        • Steering Rack (LHD) (3rd Generation) (Remove and Replace)
        • Steering Rack (RHD) (1st Generation) (Remove and Replace)
        • Steering Rack (RHD) (2nd Generation) (Remove and Replace)
        • Steering Rack (RHD) (3rd Generation) (Remove and Replace)
        • Tie Rod End - LH (Remove and Replace)
        • Lock To Lock-Angle Test
      • 3205 - Upper Column, Steering Wheel
        • Module - Steering Column Control (Remove and Replace)
        • Steering Column (Remove and Replace)
        • Steering Wheel (Remove and Replace)
    • 33 - BRAKES
      • 3301 - Brake Discs and Calipers
        • Brake Caliper - Front - LH (Remove and Replace)
        • Brake Caliper - Rear - Brembo - LH (Remove and Replace)
        • Brake Caliper - Rear - Mando - LH (Remove and Replace)
        • Brake Rotor - Front - LH (Remove and Replace)
        • Brake Rotor - Front - LH (Measure Runout)
        • Brake Rotor - Rear - LH (Remove and Replace)
        • Brake Pad Kit - Front (Remove and Replace)
        • Brake Pad Kit - Rear - Brembo (Remove and Replace)
        • Brake Pad Kit - Rear - Mando (Remove and Replace)
        • Brake Pads and Rotors - Front - Set
        • Brake Pads - Burnishing
        • Clean and Lubricate Brake Calipers (Integrated Parking Brake)
        • Clean and Lubricate Brake Calipers (Separate Parking Brake)
        • Rigid Pipe - Brake Caliper - Front - LH (Remove and Replace)
        • Rigid Pipe - Brake Caliper - Rear - LH (Remove and Replace)
        • Shield - Dust - Brake - Front - LH (Remove and Replace)
        • Shield - Dust - Brake - Rear - LH (Remove and Replace)
      • 3303 - Brake Pipes and Hoses
        • Bleed Procedure - One Caliper (Remove and Replace)
        • Bleed or Flush Procedure - System (Remove and Replace)
        • Brake Fluid Check
        • Brake Hose - Adaptive - Front - LH (Remove and Replace)
        • Brake Hose - Flexible - Front - LH (Remove and Replace)
        • Brake Hose - Flexible - Rear - LH (Remove and Replace)
        • Brake Lines - 2 Tube Bundle - Rear (Remove and Replace)
        • Brake Lines - 4 Tube Bundle - ABS to Wheels (1st Generation) (Remove and Replace)
        • Brake Lines - 4 Tube Bundle - ABS to Wheels (2nd Generation) (Remove and Replace)
        • Brake Lines - Master Cylinder to ABS (LHD) (Remove and Replace)
        • Brake Lines - Master Cylinder to ABS (RHD) (Remove and Replace)
      • 3305 - Parking Brake
        • Brake Caliper - Rear - Park Brake - LH (Remove and Replace)
        • Brake Caliper Pad Slides and Parking Brake Calipers - Cleaning and Lubrication
        • Brake Pads - Park Brake - Burnishing
        • Brake Pads - Park Brake - Set (Remove and Replace)
        • Module - Electric Park Brake - EPB (Remove and Replace)
        • Park Brake Caliper - Release - Harness Tool - Through Calipers
        • Park Brake Caliper - Release - Harness Tool - Through ECU
        • Park Brake Caliper - Release - EPB - LH
        • Rear Park Brake Caliper Release
      • 3310 - ABS, Traction, and Stability Control
        • ABS Modulator Assembly (Remove and Replace)
        • Sensor - Wheel Speed - ABS - Front - LH (Remove and Replace)
        • Sensor - Wheel Speed - ABS - Rear - LH (Remove and Replace)
      • 3320 - Electromechanical Brake Booster
        • Electromechanical Brake Booster Assembly (LHD) (Remove and Replace)
        • Electromechanical Brake Booster Assembly (RHD) (Remove and Replace)
        • Sensor - Brake Reservoir Fluid Level (Remove and Replace)
      • 3325 - Brake Pedal
        • Brake Pedal (Remove and Replace)
        • Switch - Brake Light (Remove and Replace)
    • 34 - WHEELS AND TIRES
      • 3401 - Wheels
        • Wheel Assembly (Remove and Install)
        • Wheel (Remove and Replace)
        • Wheels - Axle Set (Remove and Install)
        • Wheels - Vehicle - Set (Remove and Install)
      • 3402 - Tires
        • Replacement Tire Information
        • Tire - Front - LH (Balance)
        • Tire - Front - LH (Road Force) (Balance)
        • Tire - Front - LH (Remove and Replace)
        • Tire - Front - LH (Repair)
        • Tire Rotation
      • 3404 - Tire Pressure Monitoring System (TPMS)
        • Module - TPMS (Remove and Replace)
        • TPMS Sensor - ID Learn Procedure
        • Wheel Sensor - TPMS (Remove and Replace)
    • 39 - FRONT DRIVE UNIT
      • 3901 - Front Drive Unit Assembly
        • Bushing Carrier - Front Drive Unit (2nd Generation) (Remove and Replace)
        • Drive Unit - Front (1st Generation) (Remove and Install)
        • Drive Unit - Front (2nd Generation) (Remove and Install)
        • Drive Unit - Front (1st Generation) (Remove and Replace)
        • Drive Unit - Front (2nd Generation) (Remove and Replace)
        • Mount - Clevis - Front Drive Unit - LH (Remove and Replace)
        • Mount - Front Drive Unit - RH (Remove and Replace)
        • Mount - Front Drive Unit - LH (Remove and Replace)
      • 3920 - Front Inverter
        • Inverter Air Leak Test - Front Drive Unit
        • Inverter - Front Drive Unit (Remove & Replace)
      • 3930 - Front Gearbox and Halfshafts
        • Gearbox Fluid - Front Drive Unit (1st Generation) (Drain and Refill)
        • Gearbox Fluid - Front Drive Unit (2nd Generation) (Drain and Refill)
        • Halfshaft - Front Drive Unit - LH (1st Generation) (Remove and Replace)
        • Halfshaft - Front Drive Unit - LH (2nd Generation) (Remove and Replace)
        • Halfshaft - Front Drive Unit - LH (Lubricate at Hub)
        • Halfshaft - Front Drive Unit - RH (1st Generation) (Remove and Replace)
        • Halfshaft - Front Drive Unit - RH (2nd Generation) (Remove and Replace)
        • Half Shafts - Front Drive Unit - LH/RH (2nd Generation) (Remove and Replace)
        • Heat Exchanger - Front Drive Unit (Remove & Replace)
        • Jackshaft Assembly - Front (Remove and Replace)
        • Oil Pump - Front Drive Unit (Remove & Replace)
        • Seal - Axle - Front Drive Unit - LH (1st Generation) (Remove and Replace)
        • Seal - Axle - Front Drive Unit - LH (2nd Generation) (Remove and Replace)
        • Seal - Axle - Front Drive Unit - RH (1st Generation) (Remove and Replace)
        • Seal - Axle - Front Drive Unit - RH (2nd Generation) (Remove and Replace)
    • 40 - REAR DRIVE UNIT
      • 4001 - Rear Drive Unit Assembly
        • Drive Unit - Rear - Large (Remove and Install)
        • Drive Unit - Rear - Large (Remove and Replace)
        • Drive Unit - Rear - Small (Remove and Install)
        • Drive Unit - Rear - Small (Remove and Replace)
        • Mount - Motor - Side (Remove and Replace)
        • Oil Pump - 3DU Small Rear Drive Unit (Remove and Replace)
      • 4010 - Rear Motor
        • Sensor - Motor - Speed (Remove and Replace)
      • 4020 - Rear Inverter
        • Large Drive Unit Inverter Isolation Check
      • 4030 - Rear Gearbox and Halfshafts
        • Gearbox Fluid - Rear Small Drive Unit (Drain and Refill)
        • Halfshaft - Rear Drive Unit - LH (Lubricate at Hub)
        • Rear Gearbox Fluid - Large Drive Unit (Remove and Replace)
        • Rear Halfshaft Assembly - Large Drive Unit - LH (Remove and Replace)
        • Rear Halfshaft Assembly - Small Drive Unit - LH (Remove and Replace)
        • Rear Oil Seal - Differential to Halfshaft Assembly - Large Drive Unit - LH (Remove and Replace)
        • Rear Oil Seal - Differential to Halfshaft Assembly - Small Drive Unit - LH (Remove and Replace)
    • 44 - HIGH VOLTAGE SYSTEM
      • 4400 - High Voltage Testing
        • Isolation/Insulation Test
        • Vehicle HV Disablement Procedure
      • 4401 - Charge System Inlet
        • Charge Port - Manual Release of Cable
        • Charge Port (Remove and Replace)
        • Charge Port Voltage Check
        • Door - Charge Port (Remove and Replace)
        • ECE Charge Port Assembly (Remove and Replace)
        • Pin Carrier - Charge Port (Remove and Replace)
        • Safety Cap - Charge Port to HV Battery (China) (Remove and Replace)
      • 4410 - Onboard Charger
        • 30A Fuse - Charger - 3rd Generation (Remove and Replace)
        • Charger (Remove and Replace)
        • Charger (China) (Remove and Replace)
        • Charger - 3rd Generation (3 Phase) (Remove and Replace)
        • Charge Port (Retrofit) (China)
      • 4420 - DCDC Converter
        • 40A Fuse - Front Junction Box (Remove and Replace)
        • Coolant Heater - Electric - Battery (Remove and Replace)
        • DCDC Converter (Remove and Replace)
        • Forward Junction Box (Remove and Replace)
        • HVIL Lid Switch - Forward Junction Box (Remove and Replace)
      • 4440 - Rapid Mate and Rapid Splitter
        • HV Rapid Splitter Vehicle Side (Remove and Replace)
      • 4450 - HV Harnesses
        • HV Harness - Charger to Charge Port (Remove and Replace)
        • HV Harness - Charger to Charge Port (China) (Remove and Replace)
        • HV Harness - Charger to Rear PTC Heater (Remove and Replace)
        • HV Harness - FJB to Front Drive Unit - 1st Generation (Remove and Replace)
        • HV Harness - FJB to Front Drive Unit - 2nd Generation (Remove and Replace)
        • HV Harness - Rapid Splitter to FJB - Small Drive Unit (Remove and Replace)
        • HV Harness - Rapid Splitter to FJB - Large Drive Unit (Remove and Replace)
        • HV Harness - Rapid Splitter to Rear Drive Unit (Remove and Replace)
        • HV Harness - Rapid Splitter to Charger (Remove and Replace)
    • 50 - EXTERNAL CHARGING CONNECTORS
      • 5001 - Mobile Connector
        • Firmware Update - Mobile Connector
      • 5002 - Wall Connector
        • 200A Fuses - Wall Connector (Remove and Replace)
        • Handle and Cable Assembly - 40A Wall Connector (Remove and Replace)
        • Handle and Cable Assembly - 80A Wall Connector (Remove and Replace)
        • Remove Stuck Deadfront - Charge Handle
      • 5003 - Charging Adapters
        • Firmware Update - CHAdeMO Charging Adapter
    • © Tesla 2024
    • Procedure Feedback
    • Site Feedback

    Crowsfoot or Offset Wrench Extension Calculator

    Torque Calculator Values
    Note
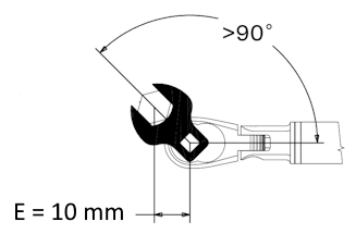
    1. If the angle from the extension to the torque wrench is greater than 90° (Figure 2), input E as a positive number.
    2. If the angle from the extension to the torque wrench is less than 90° (Figure 3), input E as a negative number.
    3. If the angle from the extension to the torque wrench is exactly 90°, this calculator is not needed. Torque the fastener to T1.
    Figure 1
    Figure 2
    Figure 3